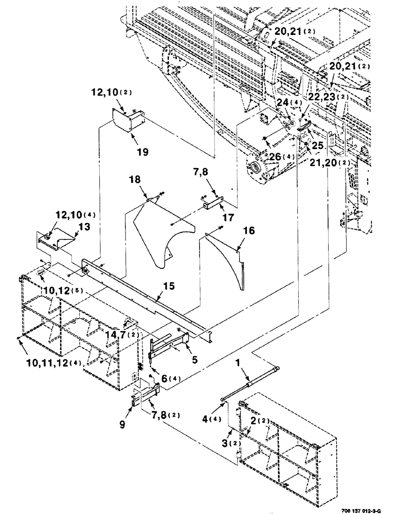
Запчасти Case IH 8585 (7-18) - TWINE BOX ASSEMBLY, RIGHT (12) - MAIN FRAME

Схема запчастей Case IH 8585 - (7-18) - TWINE BOX ASSEMBLY, RIGHT (12) - MAIN FRAME
4
8
25
24
17
10
23
20
9
10
12
20
7
15
16
20
1
8
19
10
7
12
21
3
26
12
18
13
5
7
12
21
6
2
14
10
11
22
21
FIT
1:1
100%

Артикул

Название

Примечание

Количество

1

700720043

SHOCK ABSORBER

SPRING - gas, 400 N

1шт.

2

231-5145

SERRATED NUT,Flg, USR, 5/16"-18

NUT, Flg, USR, 5/16"-18

2шт.

3

700720042

STUD

5/16-18 STUD - 13 MM ball

4шт.

4

700720035

CLIP

- retainer 13MM

4шт.

5

700137856

SUPPORT

WA - upper, right

1шт.

6

219-8

LUBE NIPPLE,1/4" - 28 NPTF

NIPPLE, LUBE, 1/4"-28 NPT x .54" lg

4шт.

7

329-286

FLANGE NUT,Flg, 3/8"-16, G8

5шт.

8

433-612

CARRIAGE BOLT,Sq Nk, 3/8" - 16 x 3/4", Gr 5

3шт.

9

700137849

SUPPORT

WA - lower, right

1шт.

10

409-7612

BOLT,3/8"-16 x 1.09" OAL

3/8-16 X 3/4 HWHMS

15шт.

11

700710049

WASHER

3/8 FENDER WASHER

4шт.

12

231-5146

FLANGE NUT,3/8"-16

15шт.

13

700138053

SHIELD

1шт.

14

434-616

CARRIAGE BOLT,Sht Sq Nk, 3/8" - 16 x 1", Gr 5

3/8-16 X 1 RHSNB

2шт.

15

700137946

SHIELD

- right

1шт.

16

700137972

PANEL

- shield, right

1шт.

17

700123922

SUPPORT

- mounting

1шт.

18

700138135

SHIELD

- right, needle

1шт.

19

700137951

SUPPORT

WA - right

1шт.

20

433-816

CARRIAGE BOLT,Sq Nk, 1/2" - 13 x 1", Gr 5

1/2-13 X 1 RHSNB

6шт.

21

329-288

FLANGE NUT,Flg, 1/2"-13, G8

6шт.

22

433-512

CARRIAGE BOLT,Sq Nk, 5/16" - 18 x 3/4", Gr 5

2шт.

23

232-5315

FLANGE NUT,Flg, 5/16"-18

5/16-18 HFTLN GR/G

2шт.

24

100-11137

SNAP RING,#137, Ext

Ring, Snap, #137, Ext

4шт.

25

700137820

SUPPORT

- mounting

1шт.

26

700137816

GUIDE

- twine

4шт.

Выбрано товаров: 26