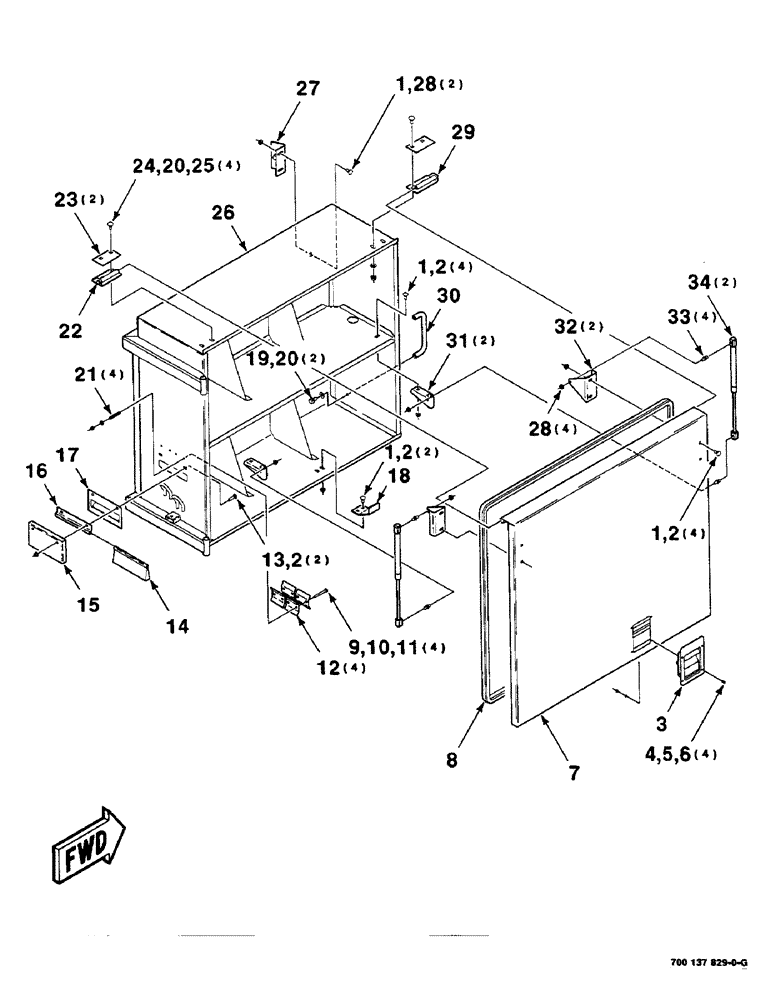
Запчасти Case IH 8585 (7-24) - TWINE BOX ASSEMBLY, FRONT, RIGHT, 700138119 TWINE BOX ASSEMBLY COMPLETE (12) - MAIN FRAME

Схема запчастей Case IH 8585 - (7-24) - TWINE BOX ASSEMBLY, FRONT, RIGHT, 700138119 TWINE BOX ASSEMBLY COMPLETE (12) - MAIN FRAME
16
26
7
2
23
6
18
1
8
32
1
2
1
2
21
13
28
15
2
9
31
33
14
11
3
1
10
4
24
25
30
5
19
29
20
22
28
17
27
12
20
34
FIT
1:1
100%

Артикул

Название

Примечание

Количество

700138117

BOX

TWINE BOX ASSEMBLY COMPLETE

1шт.

1

433-512

CARRIAGE BOLT,Sq Nk, 5/16" - 18 x 3/4", Gr 5

12шт.

2

232-5315

FLANGE NUT,Flg, 5/16"-18

5/16-18 HFTLN GR/G

12шт.

3

700720034

LATCH

- compartment

1шт.

4

440-1106

SCREW,Cross Pan Hd, #10-24 x 3/8"

GR60M Cross Pan Hd, #10-24 x 3/8"

4шт.

5

492-11010

LOCK WASHER,#10

WASHER, LOCK, #10

4шт.

6

225-14110

NUT,#10-24

4шт.

7

700137876

DOOR

WA - front

1шт.

8

700720046

SEAL

- door

1шт.

9

26144R1

BOLT

1/4-20 X 2-1/4 RHSNB

4шт.

10

496-11028

WASHER,9/32" x 5/8" x .065, HDN

1/4 HARDENED PLAIN WASHER

4шт.

11

231-1444

NUT,1/4"-20, GB

NUT, LOCK, 1/4"-20, GB

4шт.

12

700123929

CLIP

4шт.

13

433-520

CARRIAGE BOLT,Sq Nk, 5/16" - 18 x 1 1/4", Gr 5

5/16-18 X 1-1/4 RHSNB

2шт.

14

700716314

BRUSH, COMMUTATOR

BRUSH

1шт.

15

700137822

COVER

WA - twine

1шт.

16

700720018

SUPPORT

- brush

1шт.

17

700137825

PLATE ASSY.

WEAR PLATE - twine

1шт.

18

700137886

CATCH

- latch

1шт.

19

409-7612

BOLT,3/8"-16 x 1.09" OAL

3/8-16 X 3/4 HFSS

2шт.

20

496-11041

WASHER,13/32" x 13/16" x .065", HDN

3/8 HARDENED PLAIN WASHER

6шт.

21

700707677

SPRING

- compression

4шт.

22

700137881

PIN

WA - right

1шт.

23

700137824

PLATE ASSY.

PLATE - upper hinge

2шт.

24

433-612

CARRIAGE BOLT,Sq Nk, 3/8" - 16 x 3/4", Gr 5

4шт.

25

231-5146

FLANGE NUT,3/8"-16

4шт.

26

700138119

BOX

WA - right, front

1шт.

27

700137812

CATCH

ASSEMBLY

1шт.

28

231-5145

SERRATED NUT,Flg, USR, 5/16"-18

NUT, Flg, USR, 5/16"-18

6шт.

29

700137880

PIN

WA - left

1шт.

30

325621

HANDLE

1шт.

31

700137889

SUPPORT

- mounting

2шт.

32

700137887

SUPPORT

- door

2шт.

33

700715279

STUD

- 10 MM ball

4шт.

34

700720031

GAS STRUT

SPRING - gas, 500 N

2шт.

Выбрано товаров: 35