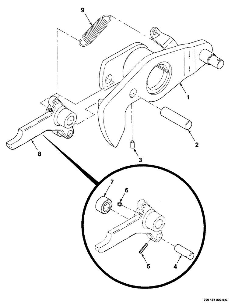
Запчасти Case IH 8585 (5-06) - DOG CLUTCH ASSEMBLY (13) - FEEDER

Схема запчастей Case IH 8585 - (5-06) - DOG CLUTCH ASSEMBLY (13) - FEEDER
4
9
1
2
8
5
7
3
6
FIT
1:1
100%

Артикул

Название

Примечание

Количество

1

700137241

ARM

WA - clutch

1шт.

2

700129542

SHAFT

- clutch

1шт.

3

NLS

NO LONGER SERVICED

3/8-16 X 3/4 HDPHSSS NP,Set screw

1шт.

4

700112857

SHAFT

- clutch

1шт.

5

135-358

GROOVED PIN,1/4" x 1 1/4", Type F

Pin, Grooved, 1/4" x 1 1/4", Type F

1шт.

6

219-90

LUBE NIPPLE,45 Degree Elbow, 1/4" -28 NPTF

ZERK 1/4-28 X 45°

1шт.

7

700112856

NEEDLE ROLLER

ROLLER

1шт.

8

700137248

ARM

ASSEMBLY - clutch

1шт.

9

758268

SPRING

- extension

1шт.

Выбрано товаров: 9