Запчасти Case IH 8585 (5-20) - PLUNGER ASSEMBLY (13) - FEEDER

Схема запчастей Case IH 8585 - (5-20) - PLUNGER ASSEMBLY (13) - FEEDER
3
10
12
8
27
30
16
14
17
20
22
32
31
21
29
24
18
5
15
26
25
9
4
13
19
11
6
33
7
1
23
18
28
17
2
FIT
1:1
100%

Артикул

Название

Примечание

Количество

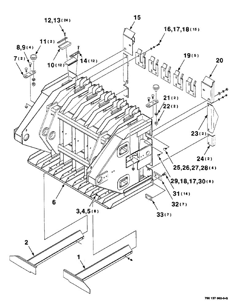
1

700137215

SCRAPER

WA - left

1шт.

2

700137217

SCRAPER

WA - right

1шт.

3

433-512

CARRIAGE BOLT,Sq Nk, 5/16" - 18 x 3/4", Gr 5

8шт.

4

496-21034

WASHER,11/32" x 11/16" x 0.89", HDN

8шт.

5

231-5145

SERRATED NUT,Flg, USR, 5/16"-18

NUT, Flg, USR, 5/16"-18

8шт.

6

700137150

PLUNGER

WA

1шт.

7

700123184

LARGE PLATE

PLATE

2шт.

8

433-820

CARRIAGE BOLT,Sq Nk, 1/2" - 13 x 1 1/4", Gr 5

1/2-13 X 1-1/4 RHSNB

4шт.

9

231-5348

FLANGE NUT,Flg, 1/2"-13

1/2-13 HFTLN GR/G

4шт.

10

700713894

BRUSH

12шт.

11

7713829

BEARING ASSY,19.56 mm ID x 63.75 mm OD

PLUNGER BEARING

2шт.

12

232-5315

FLANGE NUT,Flg, 5/16"-18

5/16-18 HFTLN GR/G

24шт.

13

413-516

BOLT,Hex, 5/16" - 18 x 1", Gr 5

24шт.

14

700129690

RETAINER

12шт.

15

700137207

PLATE ASSY.

PLATE WA - right

1шт.

16

413-616

BOLT,Hex, 3/8" - 16 x 1", Gr 5

15шт.

17

492-11038

LOCK WASHER,3/8"

23шт.

18

496-11041

WASHER,13/32" x 13/16" x .065", HDN

3/8 HARDENED PLAIN WASHER

23шт.

19

700113187

ANTI-WRAP PLATE

PLATE

5шт.

20

700137204

PLATE ASSY.

PLATE WA - left

1шт.

21

492-11075

LOCK WASHER,3/4"

3/4"

2шт.

22

425-1112

NUT,3/4"-16, G5

3/4-16 H

2шт.

23

700123193

ANGLE

- side, center

2шт.

24

700123192

ANGLE

- side, lower

2шт.

25

433-816

CARRIAGE BOLT,Sq Nk, 1/2" - 13 x 1", Gr 5

1/2-13 X 1 RHSNB

4шт.

26

495-21056

WASHER,1/2"

1/2 HARDENED PLAIN WASHER

4шт.

27

80679

LOCK WASHER,1/20.507 CST ZND

WASHER, LOCK, 1/2"

4шт.

28

425-108

NUT,1/2" - 13, Gr 5

NUT, , Hex 1/2"-13, G5

4шт.

29

434-616

CARRIAGE BOLT,Sht Sq Nk, 3/8" - 16 x 1", Gr 5

3/8-16 X 1 RHSNB

8шт.

30

425-106

NUT,3/8"-16, Cl 5

8шт.

31

61-46224

HEX SOC SCREW,FLAT, 5/8" x 1-1/2"

5/8-11 X 1-1/2 HSFCHCS SPL

14шт.

32

700113188

KNIFE

7шт.

33

700113189

BAR

7шт.

Выбрано товаров: 33