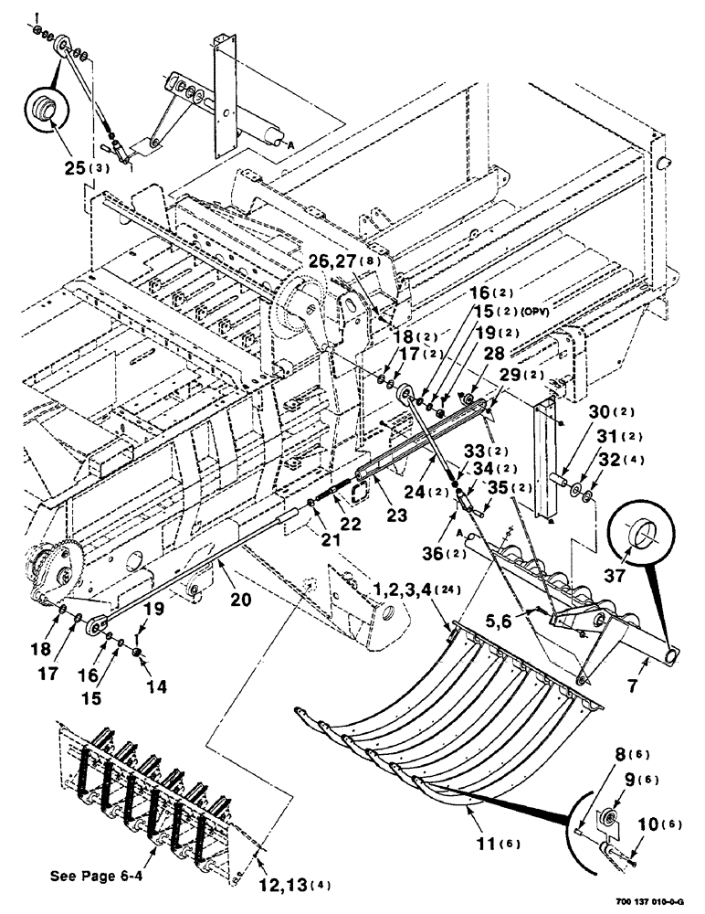
Запчасти Case IH 8585 (6-02) - NEEDLE AND MOUNTING ASSEMBLY (14) - BALE CHAMBER

Схема запчастей Case IH 8585 - (6-02) - NEEDLE AND MOUNTING ASSEMBLY (14) - BALE CHAMBER
4
19
13
10
14
16
18
20
27
28
15
9
25
6
29
18
37
30
31
5
32
3
2
33
36
17
8
34
19
35
21
17
23
12
15
7
16
11
26
22
1
24
FIT
1:1
100%

Артикул

Название

Примечание

Количество

1

700710413

BOLT,Round, 1/2" - 13 x 2 1/2", Grade 8, BLK

1/2-13 X 2-1/2 RHSNB GR8 NP

24шт.

2

495-21056

WASHER,1/2"

1/2 HARDENED PLAIN WASHER

24шт.

3

20835R1

NUT,1/2"-13, G8

1/2-13 H GR8 NP

24шт.

4

700710414

JAM NUT

1/2-13 HJN GR8 NP

24шт.

5

413-1036

BOLT,Hex, 5/8" - 11 x 2-1/4", Gr 5

5/8-11 X 2-1/4 C

1шт.

6

232-53110

FLANGE NUT,Flg, 5/8"-11

5/8-11 HFTLN GR/G

1шт.

7

700137451

SUPPORT

WA - needle (Includes item 37)

1шт.

8

866566

FASTENER,#10 - 32 x 9/16"

(special)

6шт.

9

700707700

BALL BEARING,6.48 mm ID x 31.75 mm OD x 13.08 mm

BEARING

6шт.

10

164-102

HEX SOC SCREW,FLAT, #10 - 32 x 1/2"

#10-32 X 1/2 HSFCHCS (special)

6шт.

11

700123233

NEEDLE

ASSEMBLY (Includes items 8, 9 and 10)

6шт.

12

121-226

SERRATED BOLT,Hex, 3/8" - 16 x 1"

4шт.

13

232-5316

FLANGE NUT,Flg, 3/8"-16

3/8-16 HFTLN GR/G

4шт.

14

25-1316

NUT,1"-14, G5

NUT, SLOTTED, 1"-14, G5

1шт.

15

52258

BUSHING

1 X 14 GAUGE NRMB

3шт.

16

495-81070

WASHER,1 1/32" x 1 1/2" x .120"

1 X 10 GAUGE NRMB

3шт.

17

495-81205

WASHER,32.54mm ID x 50.8mm OD x 1.7mm Thk

1-1/4 X 14 GAUGE NRMB

3шт.

18

52324

BUSHING

1-1/4 X 10 GAUGE NRMB

3шт.

19

432-1640

COTTER PIN,1/4" x 2 1/2"

Pin, Split (Cotter), 1/4" x 2 1/2"

3шт.

20

700137472

ROD

WA - protection (Includes item 25)

1шт.

21

425-1514

JAM NUT,Jam, 7/8"-14, G5

7/8-14 HJN GR2

1шт.

22

6530604

ROD

- adjust

1шт.

23

700113098

STRAP

WA - safety

1шт.

24

700137476

ROD

WA - connecting (Includes item 25)

2шт.

25

D46620

BEARING,31.76 mm ID x 50.81 mm OD x 23.81 mm

BUSHING

3шт.

26

413-820

BOLT,Hex, 1/2" - 13 x 1-1/4", Gr 5

8шт.

27

231-5348

FLANGE NUT,Flg, 1/2"-13

1/2-13 HFTLN GR/G

8шт.

28

667925R91

ROLLER BEARING,0.628" ID x 2" OD x 15 mm

- roller

1шт.

29

52233

BUSHING

5/8 X 14 GAUGE NRMB

2шт.

30

700123220

PIVOT

WA

2шт.

31

740522

WASHER

1-1/2 X 10 GAUGE WRMB

2шт.

32

Q3497

WASHER

- quick rep

4шт.

33

425-1412

JAM NUT,Jam, 3/4"-10, G5

3/4-10 HJN GR2

2шт.

34

66332

FLOOR

2шт.

35

A35113

PIN

3/4 X 2 CLEVIS PIN

2шт.

36

19329R1

LOCK PIN,5/32" x 1 1/2", Slotted

Pin, 5/32" x 1 1/2", Slotted

2шт.

37

700123261

BRONZE BUSHING

BUSHING - bronze

1шт.

Выбрано товаров: 37