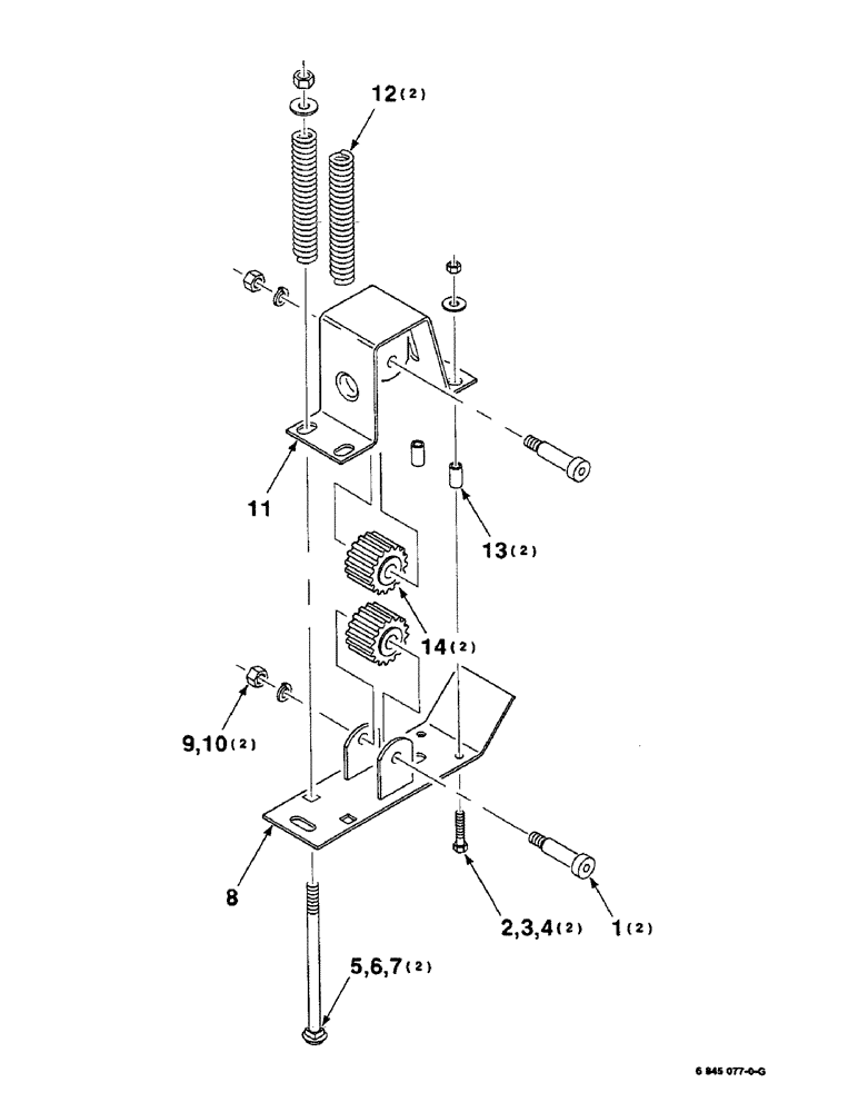
Запчасти Case IH 8585 (6-06) - TENSIONER ASSEMBLY, 6845077 TENSIONER ASSEMBLY COMPLETE (14) - BALE CHAMBER

Схема запчастей Case IH 8585 - (6-06) - TENSIONER ASSEMBLY, 6845077 TENSIONER ASSEMBLY COMPLETE (14) - BALE CHAMBER
13
7
14
3
1
11
9
4
5
2
12
6
8
10
FIT
1:1
100%

Артикул

Название

Примечание

Количество

6845077

TENSIONER

ASSEMBLY COMPLETE

1шт.

1

8701781

HOUSING

1/2 X 1-1/2 X 3/8-16 HSHSS (special)

2шт.

3

425-104

NUT,1/4"-20, Cl 5

2шт.

4

495-21031

WASHER,1/4"

1/4 WIDE PLAIN WASHER

2шт.

5

7770571

BOLT,Square, 3/8" - 16 x 6"

3/8-16 X 6 RHSNB - special

2шт.

6

231-4116

NUT,3/8"-16, GB

3/8-16 HTLN GR/B

2шт.

7

495-21044

WASHER,3/8"

2шт.

8

6845135

PLATE

WA

1шт.

9

425-106

NUT,3/8"-16, Cl 5

2шт.

10

492-11038

LOCK WASHER,3/8"

2шт.

11

6845101

BRACKET

WA

1шт.

12

858027

COMPRESSION SPRING

SPRING - compression

2шт.

13

6530828

SPACER

2шт.

14

8802795

GEAR

- tension

2шт.

2

413-420

BOLT,Hex, 1/4" - 20 x 1-1/4", Gr 5

2шт.

Выбрано товаров: 15