Запчасти Case IH 8590 (09-24) - BLOWER AND RESERVOIR ASSEMBLY Decals & Attachments

Схема запчастей Case IH 8590 - (09-24) - BLOWER AND RESERVOIR ASSEMBLY Decals & Attachments
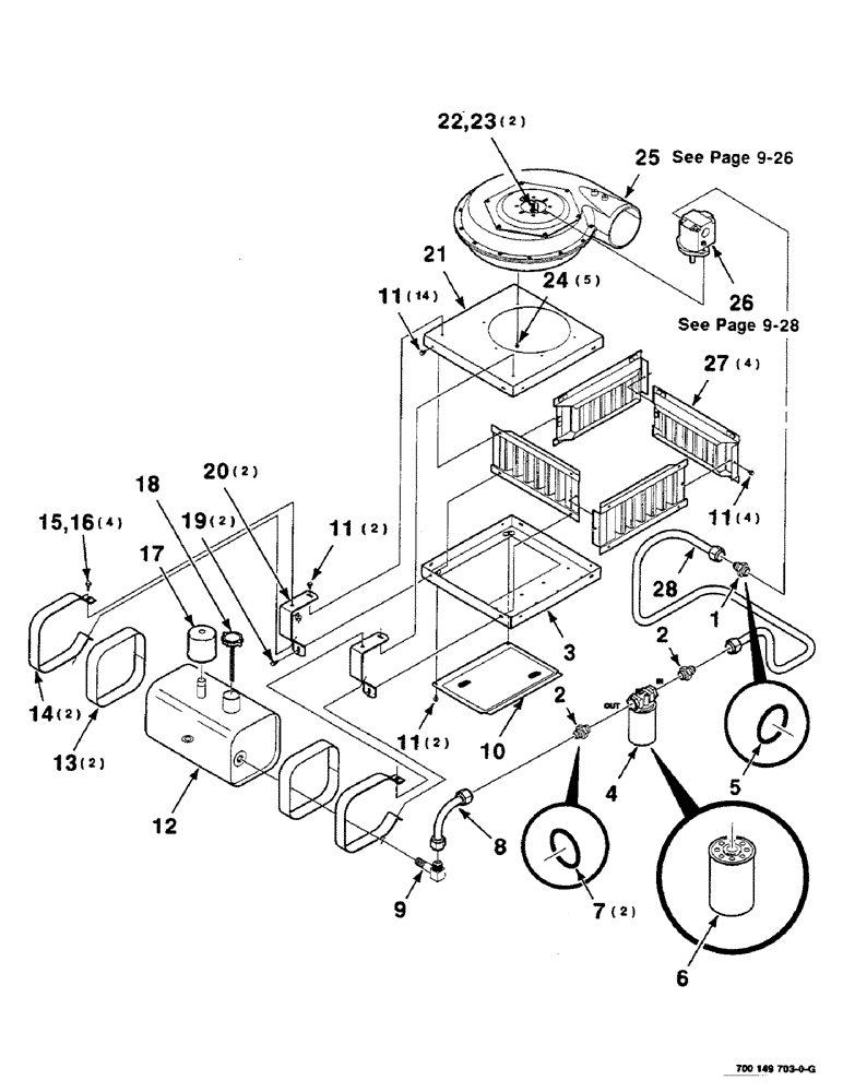
11
2
27
28
10
8
9
20
21
26
1
3
18
24
15
16
19
6
4
14
11
2
11
22
12
17
25
23
5
11
7
13
FIT
1:1
100%

Артикул

Название

Примечание

Количество

1

218-5050

HYD CONNECTOR,1-5/16" - 12 Male JIC x 1-1/16" - 12 Male ORB

CONNECTOR, HYD., (Incl. Item 5)

1шт.

2

218-5069

HYD CONNECTOR,1-5/16" - 12 Male JIC x 1-5/16" - 12 Male ORB

CONNECTOR, HYD., (Incl. Item 7) 1 5/16"-12, 37º x 1 5/16"-12, O-Ring

2шт.

3

700149712

PANEL

WA - lower

1шт.

4

700710972

FILTER

(Includes Item 6)

1шт.

5

738484

O-RING

1шт.

6

7033616

FILTER

ELEMENT - filter

1шт.

7

738476

O-RING

2шт.

8

700717695

LINE

- hydraulic

1шт.

9

700717705

ELBOW

- male, 90 degree long

1шт.

10

700149714

SCREEN

WA - access

1шт.

11

256873

BOLT,Hex Serr, 5/16" - 18 x 1/2", 5SPL, Full Thd

22шт.

12

700714482

RESERVOIR

- oil

1шт.

13

844498

FELT

LINER - oil reservoir

2шт.

14

700149719

STRAP

- oil reservoir

2шт.

15

121-226

SERRATED BOLT,Hex, 3/8" - 16 x 1"

4шт.

16

232-5316

FLANGE NUT,Flg, 3/8"-16

3/8-16 HFTLN GR/G

4шт.

17

7825516

FILTER

- oil

1шт.

18

700708076

FILLER CAP

CAP - filler

1шт.

19

121-115

SERRATED BOLT,Hex, 5/16" - 18 x 3/4"

2шт.

20

700149718

STRAP

- mounting, reservoir

2шт.

21

700149710

PANEL

WA - upper

1шт.

22

433-620

CARRIAGE BOLT,Sq Nk, 3/8" - 16 x 1 1/4", Gr 5

BOLT, CARRIAGE, Short NK, 3/8"-16 x 1 1/4", G5

2шт.

23

231-1406

LOCK NUT,3/8"-16, GB

3/8-16 LHSN

2шт.

24

7883275

SCREW,Hex Washer, 1/4" - 20 x 3/4"

1/4-20 X 3/4 HWHMS

5шт.

25

700717713

BLOWER

1шт.

26

700717759

MOTOR

- hydraulic

1шт.

27

700149704

SCREEN

WA

4шт.

28

700717696

LINE

- hydraulic

1шт.

Выбрано товаров: 0