Запчасти Case IH 8590 (03-10) - PICKUP AUGER AND PAN ASSEMBLY Pickup

Схема запчастей Case IH 8590 - (03-10) - PICKUP AUGER AND PAN ASSEMBLY Pickup
4
13
13
24
17
25
20
12
10
12
15
16
27
14
18
19
9
13
21
22
2
11
1
7
12
5
3
26
6
11
23
8
11
FIT
1:1
100%

Артикул

Название

Примечание

Количество

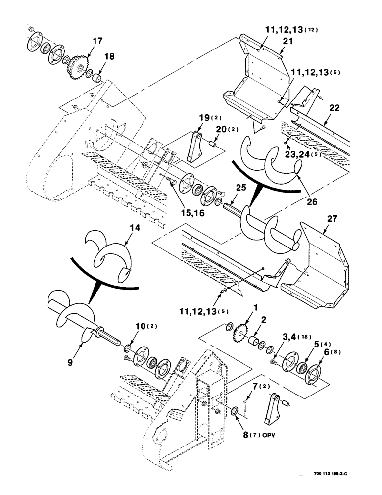
1

700113643

SPROCKET

50B20 TOOTH

1шт.

2

700113304

SPACER

1шт.

3

433-820

CARRIAGE BOLT,Sq Nk, 1/2" - 13 x 1 1/4", Gr 5

1/2-13 X 1-1/4 RHSNB

16шт.

4

329-288

FLANGE NUT,Flg, 1/2"-13, G8

16шт.

5

700703101

SPHERICAL BEARING,31.78 mm ID x 80 mm OD x 36.512 mm

BEARING

4шт.

6

50575

FLANGE

8шт.

7

432-1628

COTTER PIN,1/4" x 1 3/4"

Pin, Split (Cotter), 1/4" x 1 3/4"

2шт.

8

NLS

NO LONGER SERVICED

1-1/2 X 14 GAUGE NRMB

7шт.

9

700113299

AUGER

- left

1шт.

10

700113638

SPACER

2шт.

11

433-512

CARRIAGE BOLT,Sq Nk, 5/16" - 18 x 3/4", Gr 5

23шт.

12

496-21034

WASHER,11/32" x 11/16" x 0.89", HDN

23шт.

13

231-5145

SERRATED NUT,Flg, USR, 5/16"-18

NUT, Flg, USR, 5/16"-18

23шт.

14

700113248

AUGER FLIGHT

FLIGHTING - right, right hand spiral

1шт.

15

413-1252

BOLT,Hex, 3/4" - 10 x 3-1/4", Gr 5

3/4-10 X 3-1/4 C

1шт.

16

232-53112

FLANGE NUT,Flg, 3/4"-10

3/4-10 HFTLN GR/G

1шт.

17

700113636

SPROCKET

WA 20-29 tooth

1шт.

18

700113305

SPACER

1шт.

19

700134963

PIVOT

WA

2шт.

20

700113281

SPACER

2шт.

21

700134986

PAN

- auger, right

1шт.

22

700134978

CHUTE

WA - pickup

1шт.

23

121-226

SERRATED BOLT,Hex, 3/8" - 16 x 1"

5шт.

24

496-11041

WASHER,13/32" x 13/16" x .065", HDN

3/8 HARDENED PLAIN WASHER

5шт.

25

700113300

AUGER

- right

1шт.

26

700113247

AUGER FLIGHT

FLIGHTING - left, left hand spiral

1шт.

27

700134985

PAN

- auger, left

1шт.

Выбрано товаров: 27