Запчасти Case IH 8590 (03-14) - PICKUP CLUTCH ASSEMBLY Pickup

Схема запчастей Case IH 8590 - (03-14) - PICKUP CLUTCH ASSEMBLY Pickup
13
3
12
6
5
15
9
19
18
4
2
20
17
10
7
4
14
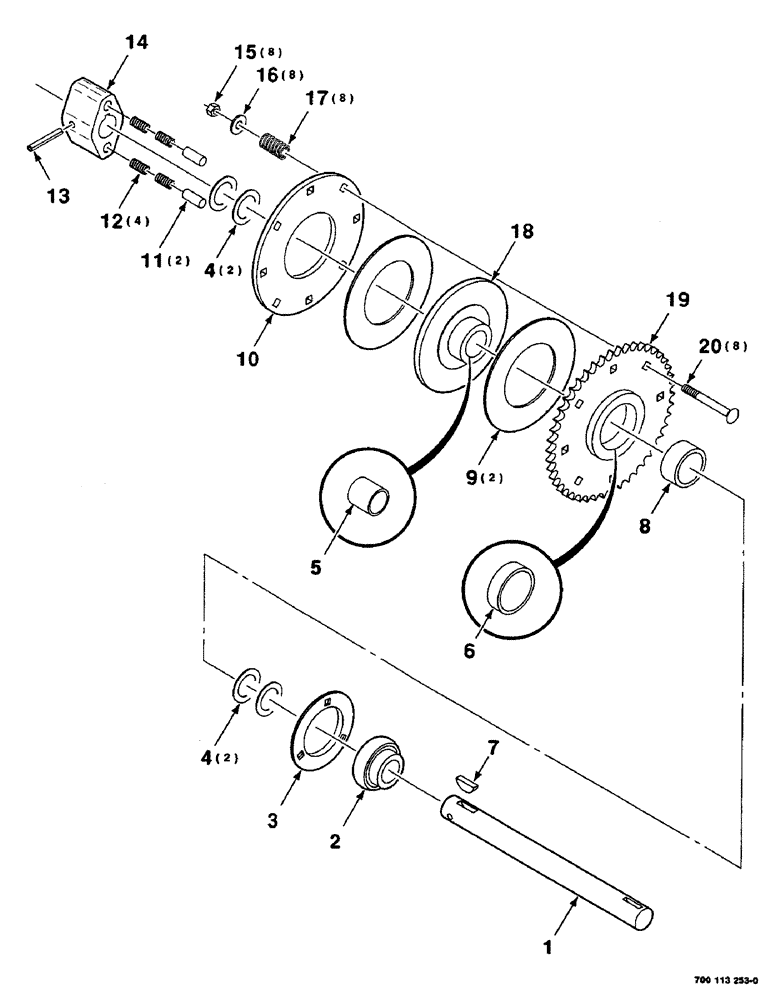
1
16
11
8
FIT
1:1
100%

Артикул

Название

Примечание

Количество

1

700113260

SHAFT

1шт.

2

51292

SPHERICAL BEARING,1.25" ID x 72 mm OD x 19 mm

- spherical

1шт.

3

617863R1

FLANGED BEARING

- bearing

1шт.

4

495-81205

WASHER,32.54mm ID x 50.8mm OD x 1.7mm Thk

1-1/4 X 18 GAUGE NRMB

4шт.

5

6564983

BUSHING

1шт.

6

6564975

BRONZE BUSHING,57.3mm ID x 66.79mm OD x 19.13mm L

BEARING - bronze

1шт.

7

126-133

WOODRUFF KEY,#D, 5/16" x 1 1/4", HT

1шт.

8

6549588

SPACER

1шт.

9

700711025

CLUTCH PLATE,92mm ID x 161.92mm OD x 3.18mm Thk

DISC - friction

2шт.

10

700113257

CLUTCH PLATE

PLATE - clutch

1шт.

11

37-1820

DOWEL,1/2" x 1 1/4"

1/2 X 1-1/4 DOWEL PIN

2шт.

12

58511

COMPRESSION SPRING

SPRING - compression

4шт.

13

38-12036

LOCK PIN,5/16" x 2 1/4", Slotted

Pin, 5/16" x 2 1/4", Slotted

1шт.

14

6522668

HUB

- clutch

1шт.

15

231-1406

LOCK NUT,3/8"-16, GB

3/8-16 LHSN

8шт.

16

495-21044

WASHER,3/8"

8шт.

17

58107

SPRING

- compression

8шт.

18

700113259

CLUTCH

ASSEMBLY (Includes Item 5)

1шт.

19

700113254

SPROCKET,43T

ASSEMBLY 50A43 TOOTH (Includes Item 6)

1шт.

20

433-656

CARRIAGE BOLT,Sq Nk, 3/8" - 16 x 3 1/2", Gr 5

3/8-16 X 3-1/2 RHSNB

8шт.

Выбрано товаров: 20