Запчасти Case IH 8590 (03-22) - PICKUP SHIELDS ASSEMBLY Pickup

Схема запчастей Case IH 8590 - (03-22) - PICKUP SHIELDS ASSEMBLY Pickup
7
12
9
4
3
16
8
20
2
1
14
21
15
10
18
6
5
19
24
17
16
11
23
15
25
16
13
22
FIT
1:1
100%

Артикул

Название

Примечание

Количество

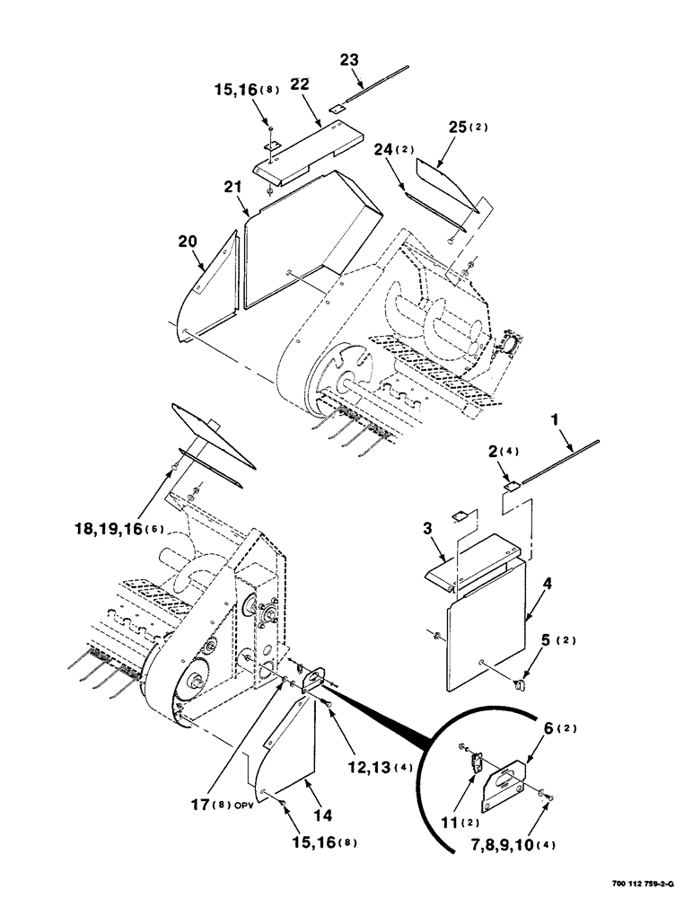
1

317818

PIN

- hinge

1шт.

2

700108658

SUPPORT

- hinge

4шт.

3

700114002

CHANNEL

- left

1шт.

4

700133679

SHIELD

- left

1шт.

5

700714706

LATCH

1/4 turn

2шт.

6

700133681

SUPPORT

2шт.

7

340-1108

SCREW,Cross Pan Hd, #10-24 x 1/2"

10-24 X 1/2 CRPHMS GR60M

4шт.

8

195-513

WASHER,#10

PLAIN WASHER #10

4шт.

9

492-11010

LOCK WASHER,#10

WASHER, LOCK, #10

4шт.

10

225-14110

NUT,#10-24

4шт.

11

700714529

SOCKET/RECEPTACLE

RECEPTACLE

2шт.

12

413-824

BOLT,Hex, 1/2" - 13 x 1-1/2", Gr 5

4шт.

13

231-5348

FLANGE NUT,Flg, 1/2"-13

1/2-13 HFTLN GR/G

4шт.

14

700114000

SHIELD

- left (S.N. CFH0139001 thru CFH0139499)

1шт.

700150652

SHIELD

- left (S.N. CFH0139500 and Later)

1шт.

15

256873

BOLT,Hex Serr, 5/16" - 18 x 1/2", 5SPL, Full Thd

16шт.

16

231-5145

SERRATED NUT,Flg, USR, 5/16"-18

NUT, Flg, USR, 5/16"-18

22шт.

17

705541

WASHER,0.53" ID x 1.06" OD x 0.14" Thk

1/2 HARDENED PLAIN WASHER

8шт.

18

433-512

CARRIAGE BOLT,Sq Nk, 5/16" - 18 x 3/4", Gr 5

6шт.

19

496-21034

WASHER,11/32" x 11/16" x 0.89", HDN

6шт.

20

700114001

SHIELD

- right (S.N. CFH0139001 thru CFH0139499)

1шт.

700150653

SHIELD

- right (S.N. CFH0139500 and Later)

1шт.

21

700133680

SHIELD

- right

1шт.

22

700114003

CHANNEL

- right

1шт.

23

700114019

ROD

PIN - hinge, right

1шт.

24

700121498

STRAP

2шт.

25

700709850

SHIELD

- belting

2шт.

Выбрано товаров: 27