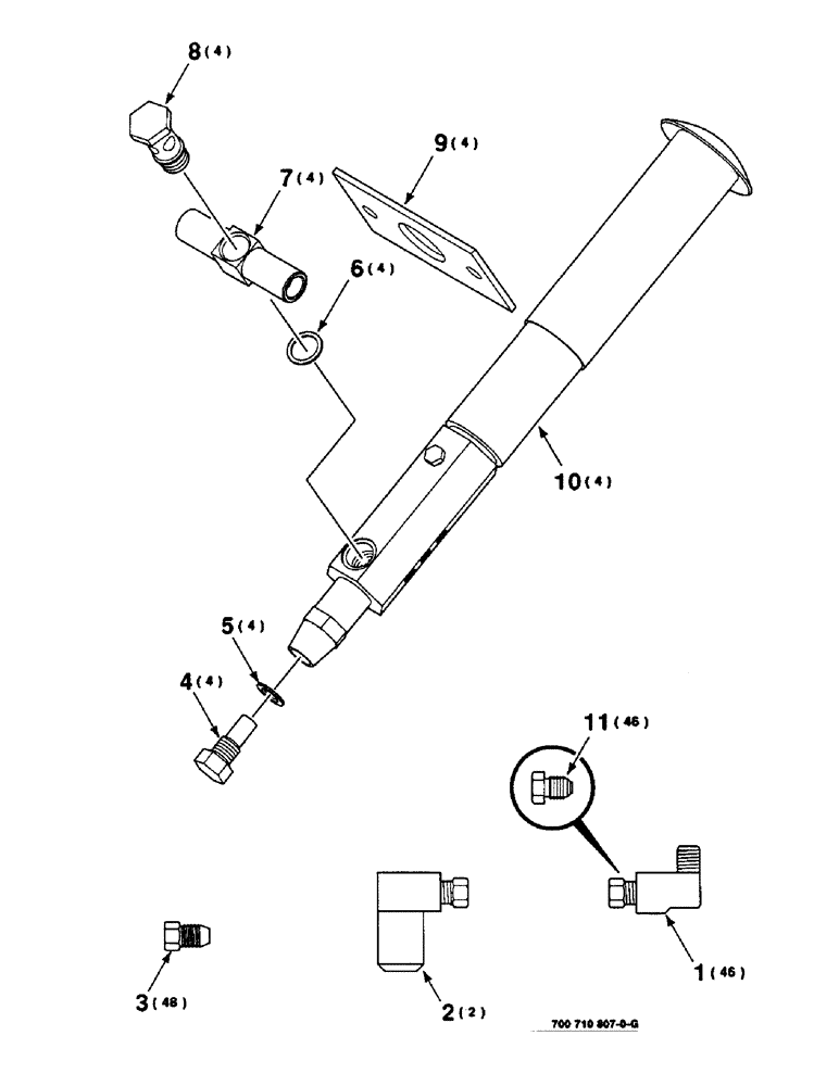
Запчасти Case IH 8590 (6-52) - LUBE KIT, KNOTTER, 700710807 LUBE KIT, KNOTTER, COMPLETE (14) - BALE CHAMBER

Схема запчастей Case IH 8590 - (6-52) - LUBE KIT, KNOTTER, 700710807 LUBE KIT, KNOTTER, COMPLETE (14) - BALE CHAMBER
8
1
10
11
4
2
3
6
7
5
9
FIT
1:1
100%

Артикул

Название

Примечание

Количество

700710807

KIT

LUBE KIT - knotter, complete

1шт.

1

51200288

ELBOW

- male (Includes Ref: 11)

46шт.

2

700706279

COUPLING, QUICK, FEM

COUPLER - snap on

2шт.

3

700706277

TUBE NUT

- compression

48шт.

4

700706539

PLUG

- stop

4шт.

5

700706540

COPPER WASHER

GASKET

4шт.

6

700706541

COPPER WASHER

GASKET

4шт.

7

700706542

3 WAY CONNECTION

NIPPLE - tee

4шт.

8

700706543

3 WAY CONNECTION

STUD - tee

4шт.

9

700113361

SUPPORT

- pump

4шт.

10

700706276

SMALL PUMP

PUMP - multiluber

4шт.

11

219-302

TUBE NUT

- compression

46шт.

Выбрано товаров: 12