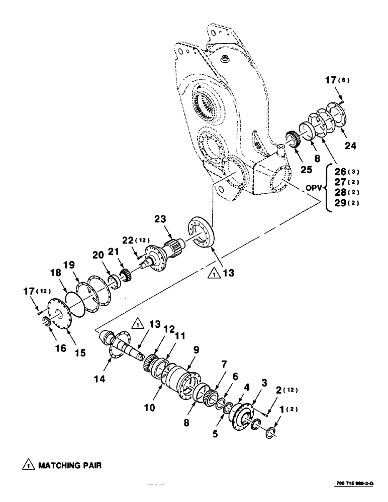
Запчасти Case IH 8590 (2-18) - GEARBOX ASSEMBLY, (CONT) Driveline

Схема запчастей Case IH 8590 - (2-18) - GEARBOX ASSEMBLY, (CONT) Driveline
8
22
23
12
20
27
17
29
5
24
17
26
21
19
16
10
14
18
7
13
15
2
3
8
4
11
9
1
25
28
13
6
FIT
1:1
100%

Артикул

Название

Примечание

Количество

1

700706045

SEAL

LIP - seal, input

2шт.

2

7771926

SPECIAL BOLT

M12 X 1.75 X 45 C

12шт.

3

700715985

SEAL

- input, carrier

1шт.

4

700720024

O-RING

1шт.

5

700706065

NUT

STAKE - nut

1шт.

6

700706032

WASHER

- keyed

1шт.

7

700706030

ROLLER BEARING,76.2mm ID x 48.26mm W

CONE - bearing

1шт.

8

700706034

BEARING CUP,161.93mm OD x 38.1mm W

CUP - bearing

2шт.

9

700715983

CARRIER FLANGE SEAL

CARRIER - bearing, input

1шт.

10

700720023

O-RING

1шт.

11

700706029

BEARING CUP

CUP - bearing

1шт.

12

700706027

ROLLER BEARING,84.138 mm ID x 46.038 mm

CONE - bearing

1шт.

13

700706088

BEVEL GEAR

PINION - bevel & ring-gear

1шт.

14

700715991

SHIM KIT

PACK - shim, carrier

1шт.

15

700715982

PLATE

CARRIER - bearing, seal

1шт.

16

700717687

SEAL

LIP - seal

1шт.

17

700717685

SCREW

M12 X 1.75 X 35 HSHCS SPL

18шт.

18

700717688

O-RING

1шт.

19

700715992

SHIM KIT

PACK - shim

1шт.

20

ST807

BEARING CUP,122.24mm OD x 36.51mm W

CUP - bearing

1шт.

21

700706035

ROLLER BEARING,63.5 mm ID x 43.764 mm

CONE - bearing

1шт.

22

700708353

SCREW

M12 X 1.75 X 40 C

12шт.

23

700706089

PINION

SHAFT - spur, input

1шт.

24

700113013

CAP

BEARING - cap, input

1шт.

25

700706033

ROLLER BEARING,88.9 mm ID x 48.26 mm

CONE - bearing

1шт.

26

700706070

SHIM

- left, inter 0.08/.003

3шт.

27

700706071

SHIM

- left, inter 0.13/.005

2шт.

28

700706072

SHIM

- left, inter 0.25/.010

2шт.

29

700706073

SHIM

- left, inter 0.51/.020

2шт.

Выбрано товаров: 29