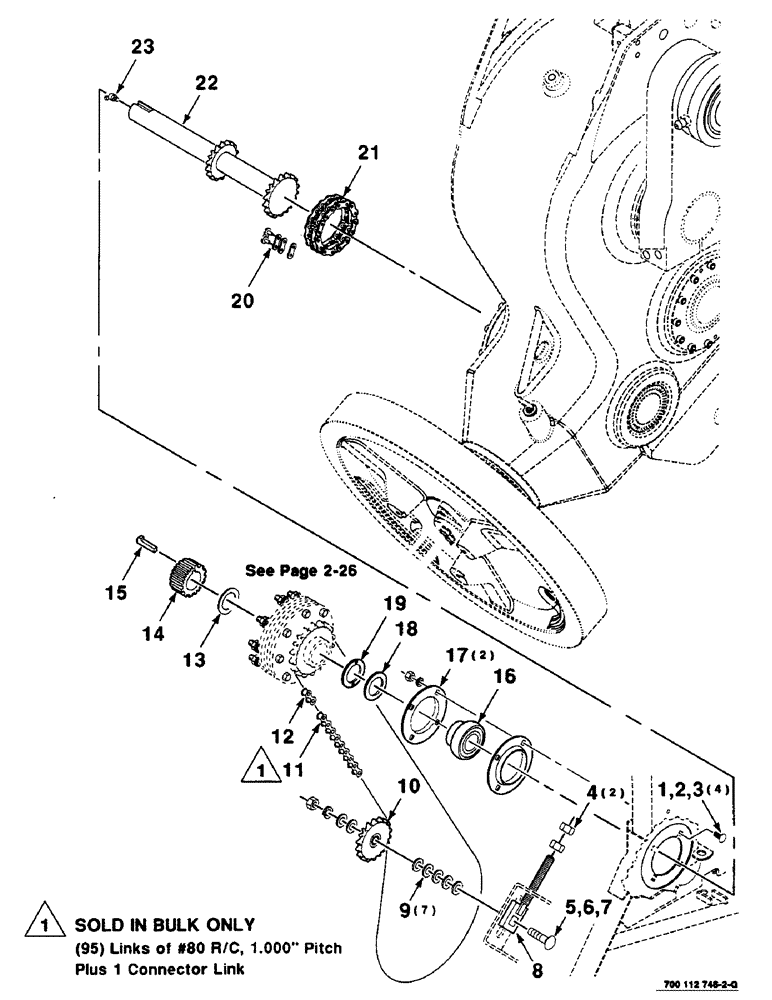
Запчасти Case IH 8590 (2-24) - DRIVE ASSEMBLY, RIGHT, AUXILIARY Driveline

Схема запчастей Case IH 8590 - (2-24) - DRIVE ASSEMBLY, RIGHT, AUXILIARY Driveline
10
9
8
1
7
6
5
19
20
13
4
23
14
21
22
3
15
11
12
2
18
1
17
16
FIT
1:1
100%

Артикул

Название

Примечание

Количество

1

433-820

CARRIAGE BOLT,Sq Nk, 1/2" - 13 x 1 1/4", Gr 5

1/2-13 X 1-1/4 RHSNB

4шт.

2

80679

LOCK WASHER,1/20.507 CST ZND

WASHER, LOCK, 1/2"

4шт.

3

425-108

NUT,1/2" - 13, Gr 5

NUT, , Hex 1/2"-13, G5

4шт.

4

425-1010

NUT,5/8"-11, G5

2шт.

5

11-1248

CARRIAGE BOLT,Short NK, 3/4"-10 x 7 1/2", G2

3/4-10 X 3 RHSNB

1шт.

6

492-11075

LOCK WASHER,3/4"

3/4"

1шт.

7

425-1012

NUT,3/4"-10, G5

3/4-10 H

1шт.

8

700112926

SPECIAL BOLT,5/8" - 11 x 7.953"

DRAWBOLT WA

1шт.

9

705566

WASHER

3/4 HARDENED PLAIN WASHER

7шт.

10

51200277

SPROCKET ASSY.

SPROCKET - idler

1шт.

11

1794D

CHAIN (AG)

CHAIN - roller, #80 (10 foot bulk)

1шт.

12

241-4418

LINK

CONNECTOR - link #80 R/C

1шт.

13

740407

BRUSH, COMMUTATOR

2 X 10 GAUGE NRMB

1шт.

14

700112925

HUB

- splined

1шт.

15

700706643

KEY

- gib

1шт.

16

712158

SPHERICAL BEARING,2" ID x 100 mm OD

BEARING

1шт.

17

714360

FLANGED BEARING

FLANGE

2шт.

18

852806

BUSHING

2 X .188 NRMB

1шт.

19

8052177

WASHER

2 X .125 WASHER - split

1шт.

20

241-1326

LINK,12.7mm Pitch

CONNECTOR - link #60 R/C

1шт.

21

NLS

NO LONGER SERVICED

CHAIN - roller, double #60 (17 links)

1шт.

22

700112919

SHAFT

WA

1шт.

23

219-40

LUBE NIPPLE,65 Degree Elbow, 1/8" - 27 NPTF

1/8-27 X 65 DEGREE ZERK

1шт.

Выбрано товаров: 23