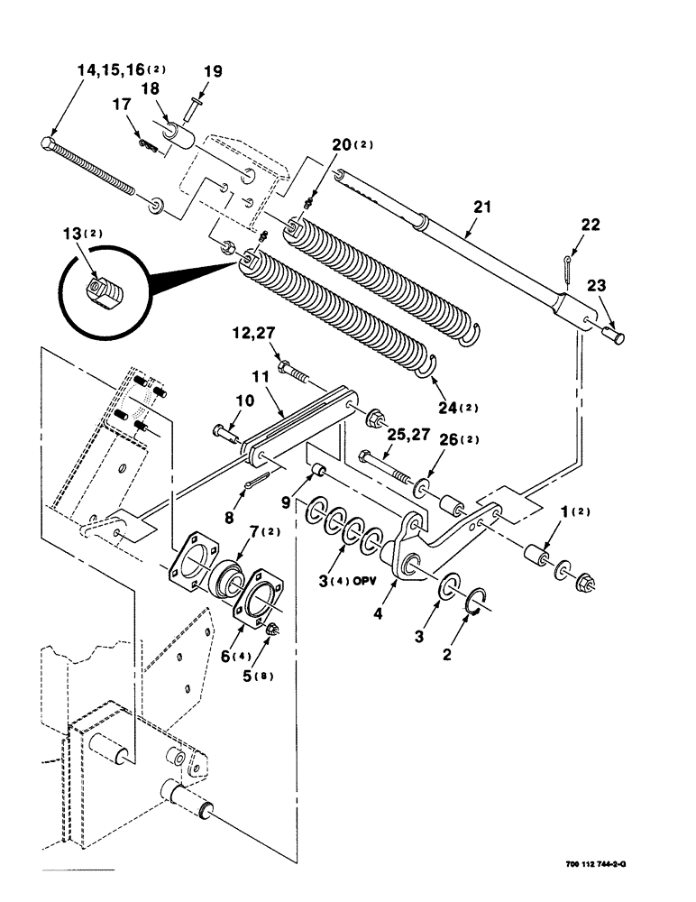
Запчасти Case IH 8590 (3-08) - PICKUP FLOTATION ASSEMBLY Pickup

Схема запчастей Case IH 8590 - (3-08) - PICKUP FLOTATION ASSEMBLY Pickup
9
17
1
23
19
10
2
27
7
25
12
3
14
4
5
21
11
15
22
8
3
20
16
26
13
18
24
6
27
FIT
1:1
100%

Артикул

Название

Примечание

Количество

1

6229462

SPACER

2шт.

2

100-11150

SNAP RING,#150, Ext

Ring, Snap, #150, Ext

1шт.

3

52282

BUSHING

1-1/2 X 14 GAUGE NRMB

5шт.

4

700134966

ARM

CRANK WA

1шт.

5

231-5348

FLANGE NUT,Flg, 1/2"-13

1/2-13 HFTLN GR/G

8шт.

6

1307583C1

FLANGED BEARING

4шт.

7

50328

SPHERICAL BEARING,38.1 mm ID x 80 mm OD x 18, 56.36 mm

- spherical

2шт.

8

432-816

COTTER PIN,1/8" x 1"

1/8" x 1"

1шт.

9

700134398

SPACER

1шт.

10

439-11032

HEADED PIN,15.88mm OD x 50.8mm L

5/8 X 2 CLEVIS PIN

1шт.

11

700113287

LINK

WA

1шт.

12

413-1040

BOLT,Hex, 5/8" - 11 x 2-1/2", Gr 5

1шт.

13

6845879

PLUG

- spring

2шт.

14

702282

BOLT,Hex, 5/8" - 11 x 10", Gr 5

5/8-11 X 10 FTB

2шт.

15

396-21066

WASHER,16.66mm ID x 33.33mm OD x 4.27mm Thk

- 5/8" bolt size 21/32" x 1 5/16" x .150", HDN

2шт.

16

425-1010

NUT,5/8"-11, G5

2шт.

17

T54573

PIN

.120 WIRE HAIR PIN COTTER

1шт.

18

700113296

COLLAR

1шт.

19

863381

CLIP,9.53mm OD x 50.8mm L

3/8 X 2 CLEVIS PIN

1шт.

20

219-8

LUBE NIPPLE,1/4" - 28 NPTF

NIPPLE, LUBE, 1/4"-28 NPT x .54" lg

2шт.

21

700113292

LINK

WA

1шт.

22

432-820

COTTER PIN,1/8" x 1 1/4"

PIN, SPLIT (COTTER), 1/8" x 1-1/4"

1шт.

23

22754R1

CLEVIS PIN,5/8" x 1.844"

5/8 X 1-3/4 CLEVIS PIN

1шт.

24

6522700

SPRING

ASSEMBLY (Includes Ref: 13)

2шт.

25

413-1080

BOLT,Hex, 5/8" - 11 x 5", Gr 5

1шт.

26

495-21069

WASHER,5/8"

5/8 WIDE PLAIN WASHER

2шт.

27

232-53110

FLANGE NUT,Flg, 5/8"-11

5/8-11 HFTLN GR/G

2шт.

Выбрано товаров: 27