Запчасти Case IH 8590 (4-06) - WORKING LIGHT ASSEMBLY (06) - ELECTRICAL

Схема запчастей Case IH 8590 - (4-06) - WORKING LIGHT ASSEMBLY (06) - ELECTRICAL
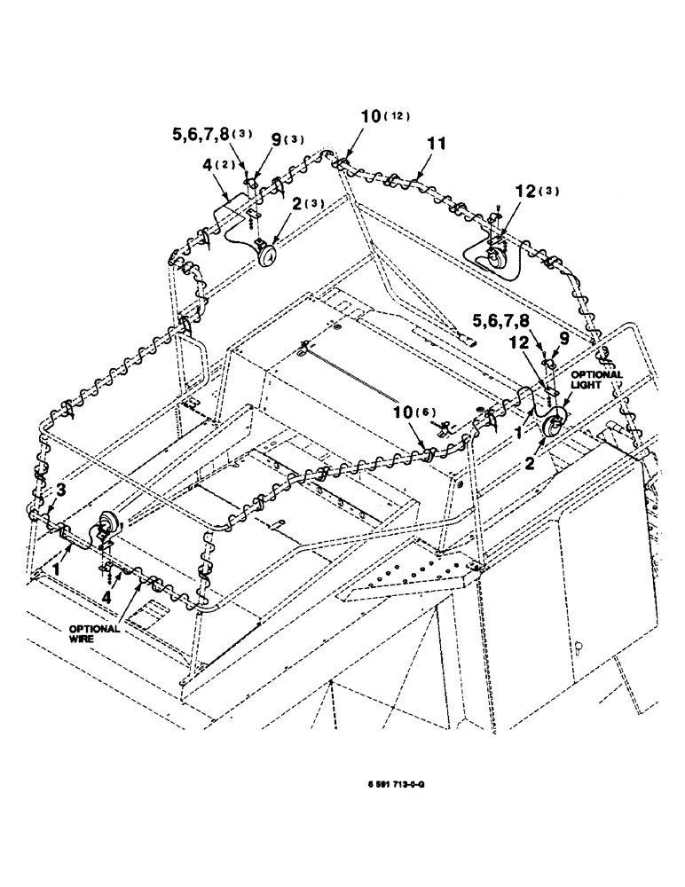
4
5
10
9
1
1
8
7
3
11
12
10
7
8
2
12
6
6
4
2
5
9
FIT
1:1
100%

Артикул

Название

Примечание

Количество

1

41145

ROD, CONNECTING

WIRE - connector

2шт.

2

41624

PIPE FITTING

LIGHT

4шт.

3

700706502

WIRE

1шт.

4

41681

ROD, CONNECTING

WIRE - connector

3шт.

5

413-616

BOLT,Hex, 3/8" - 16 x 1", Gr 5

4шт.

6

496-11041

WASHER,13/32" x 13/16" x .065", HDN

3/8 HARDENED PLAIN WASHER

4шт.

7

492-11038

LOCK WASHER,3/8"

4шт.

8

425-106

NUT,3/8"-16, Cl 5

4шт.

9

6529739

CLAMP

4шт.

10

L18337

CABLE TIE,9.95"-12.1" lg

STRAP - tie, 15 inch, nylon

18шт.

11

700706501

WIRE

1шт.

12

6529747

STRAP

STRAP

4шт.

Выбрано товаров: 12