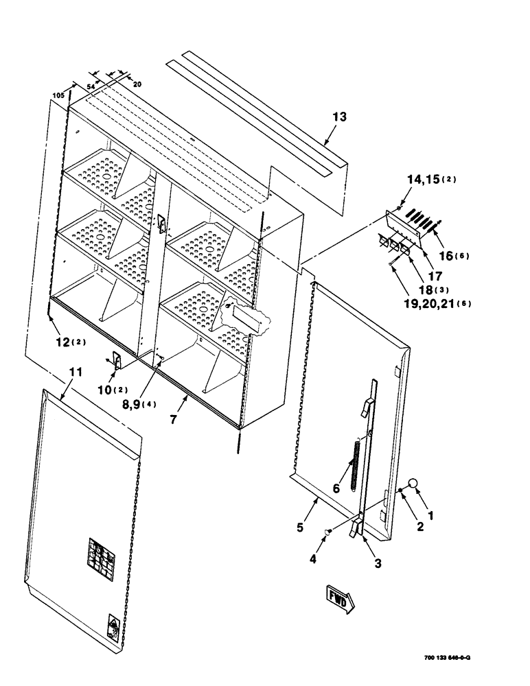
Запчасти Case IH 8590 (7-22) - TWINE BOX ASSEMBLY, RIGHT (12) - MAIN FRAME

Схема запчастей Case IH 8590 - (7-22) - TWINE BOX ASSEMBLY, RIGHT (12) - MAIN FRAME
14
21
1
2
5
15
12
6
20
17
13
11
10
4
16
19
8
18
9
3
7
FIT
1:1
100%

Артикул

Название

Примечание

Количество

1

A23885

KNOB

1шт.

2

6270854

SPACER

1шт.

3

6844633

SECURING STRAP,74mm L

WA

1шт.

4

433-816

CARRIAGE BOLT,Sq Nk, 1/2" - 13 x 1", Gr 5

1/2-13 X 1 RHSNB

1шт.

5

6844583

DOOR

ASSEMBLY - twine box, front

1шт.

6

58941

SPRING

1шт.

7

700133653

TWINE BOX

ASSEMBLY (Includes safety tread)

1шт.

8

412-48

CARRIAGE BOLT,Short Sq Nk 1/4" - 20 x 1/2", Gr 2

1/4-20 X 1/2 RHSNB

4шт.

9

231-5144

SERRATED NUT,Flg, USR, 1/4"-20

4шт.

10

6844674

CATCH

2шт.

11

700133655

DOOR

ASSEMBLY - twine box, rear (Includes decals)

1шт.

12

700122881

PIN

- hinge

2шт.

13

6849178

WALL

TREAD - safety (10 foot bulk)

1шт.

14

256873

BOLT,Hex Serr, 5/16" - 18 x 1/2", 5SPL, Full Thd

2шт.

15

231-5145

SERRATED NUT,Flg, USR, 5/16"-18

NUT, Flg, USR, 5/16"-18

2шт.

16

700707677

SPRING

- compression

6шт.

17

702400047

PLATE

1шт.

18

6488431

CLIP

3шт.

19

26144R1

BOLT

1/4-20 X 2-1/4 RHSNB

6шт.

20

496-11028

WASHER,9/32" x 5/8" x .065, HDN

1/4 HARDENED PLAIN WASHER

6шт.

21

231-1444

NUT,1/4"-20, GB

NUT, LOCK, 1/4"-20, GB

6шт.

Выбрано товаров: 21