Запчасти Case IH 8590 (7-26) - HAND RAIL ASSEMBLIES (12) - MAIN FRAME

Схема запчастей Case IH 8590 - (7-26) - HAND RAIL ASSEMBLIES (12) - MAIN FRAME
18
7
9
6
2
7
3
7
22
4
7
14
20
3
10
10
12
7
9
6
6
7
13
8
10
21
9
7
6
5
14
13
6
17
11
6
19
10
15
16
FIT
1:1
100%

Артикул

Название

Примечание

Количество

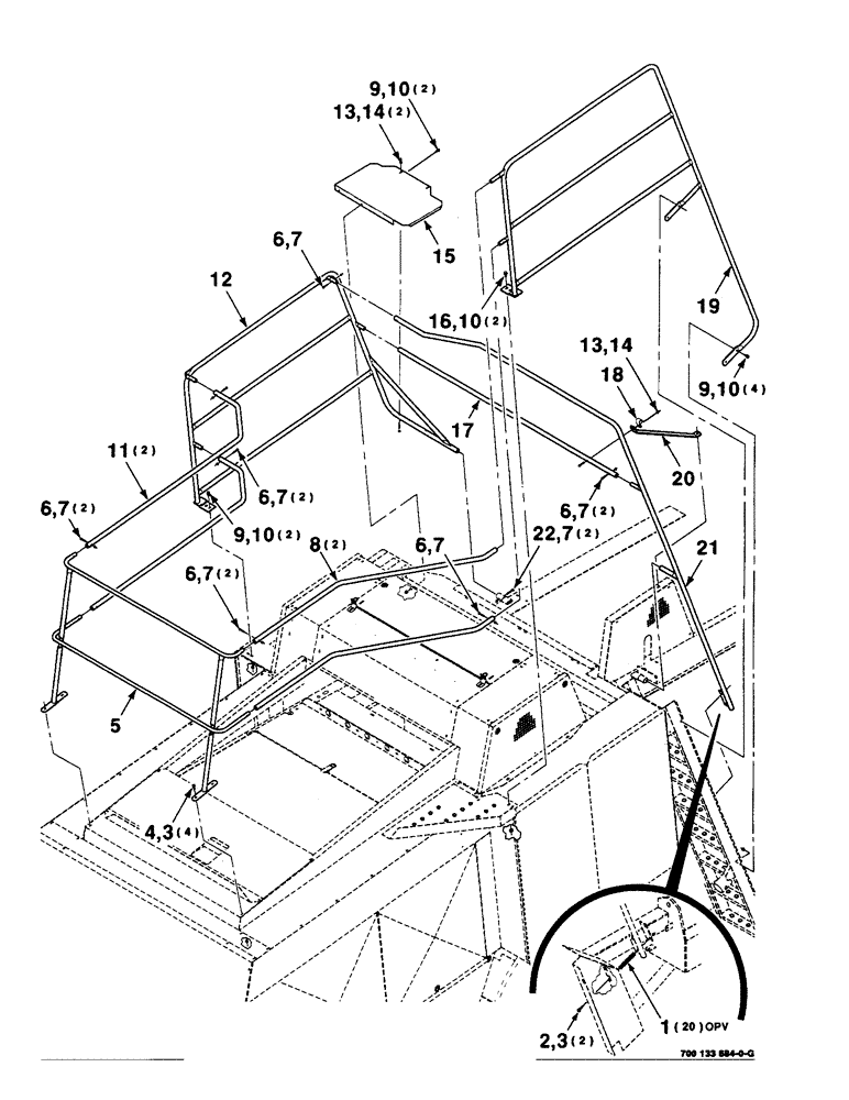
1

495-61034

WASHER,0.34" ID x 0.88" OD x 0.06" Thk

5/16 WIDE PLAIN WASHER

20шт.

2

409-7524

BOLT,Hex Flg, 5/16" - 18 x 1 1/2", Spcl

5/16-18 X 1-1/2 HFSS

2шт.

3

231-5145

SERRATED NUT,Flg, USR, 5/16"-18

NUT, Flg, USR, 5/16"-18

6шт.

4

121-115

SERRATED BOLT,Hex, 5/16" - 18 x 3/4"

4шт.

5

700133691

RAIL

WA - front

1шт.

6

413-524

BOLT,Hex, 5/16" - 18 x 1-1/2", Gr 5

10шт.

7

230-4115

LOCK NUT,5/16"-18, GA

5/16-18 HTLN GR/B

12шт.

8

700133690

HANDRAIL

PIPE - rail, left

2шт.

9

409-7612

BOLT,3/8"-16 x 1.09" OAL

3/8-16 X 3/4 HFSS

8шт.

10

231-5146

FLANGE NUT,3/8"-16

10шт.

11

700133696

HANDRAIL

PIPE - rail, right

2шт.

12

700133697

RAIL

WA - right

1шт.

13

413-528

BOLT,Hex, 5/16" - 18 x 1-3/4", Gr 5

3шт.

14

232-5315

FLANGE NUT,Flg, 5/16"-18

5/16-18 HFTLN GR/G

3шт.

15

700133705

PANEL

- filler

1шт.

16

154273C1

BOLT,Hex Serr, 3/8" - 16 x 1", Spcl

3/8-16 X 1 HFSS

2шт.

17

700133704

CROSSRAIL

CROSSBAR - rear

1шт.

18

515-2395

CLAMP,3/8", Insul, 3/8" Bolt

1шт.

19

700133685

RAIL

WA - left

1шт.

20

700133708

SUPPORT

ANGLE - support

1шт.

21

700133706

RAIL

WA - right

1шт.

22

413-532

BOLT,Hex, 5/16" - 18 x 2", Gr 5

2шт.

Выбрано товаров: 22