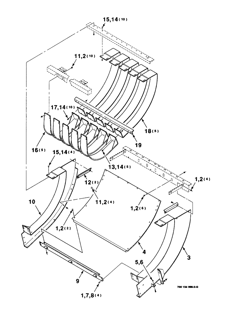
Запчасти Case IH 8590 (5-14) - FEEDER CHUTE ASSEMBLY (13) - FEEDER

Схема запчастей Case IH 8590 - (5-14) - FEEDER CHUTE ASSEMBLY (13) - FEEDER
6
16
4
11
14
1
9
2
1
11
15
15
2
1
8
5
3
12
14
18
10
1
14
7
2
19
17
2
2
14
13
FIT
1:1
100%

Артикул

Название

Примечание

Количество

1

434-616

CARRIAGE BOLT,Sht Sq Nk, 3/8" - 16 x 1", Gr 5

3/8-16 X 1 RHSNB

16шт.

2

231-5146

FLANGE NUT,3/8"-16

26шт.

3

700134987

PANEL

WA - left

1шт.

4

700112814

PANEL

- rear

1шт.

5

113-242

BOLT

3/8-16 X 1-1/4 FTC

1шт.

6

425-106

NUT,3/8"-16, Cl 5

1шт.

7

496-11041

WASHER,13/32" x 13/16" x .065", HDN

3/8 HARDENED PLAIN WASHER

4шт.

8

329-286

FLANGE NUT,Flg, 3/8"-16, G8

4шт.

9

700134990

SUPPORT

WA

1шт.

10

700134988

PANEL

WA - right

1шт.

11

111-360

CARRIAGE BOLT,Short NK, 3/8"-16 x 3/4", G5

BOLT, CARRIAGE, Short NK, 3/8"-16 x 3/4", G5

14шт.

12

6579742

ANGLE

2шт.

13

409-7512

BOLT,Hex Flg, 5/16" - 18 x 3/4", Spcl

Hex Flg, 5/16-18 x 3/4", Serr

5шт.

14

231-5145

SERRATED NUT,Flg, USR, 5/16"-18

NUT, Flg, USR, 5/16"-18

29шт.

15

433-512

CARRIAGE BOLT,Sq Nk, 5/16" - 18 x 3/4", Gr 5

14шт.

16

700112800

GUIDE

WRAPPER WA

5шт.

17

409-7516

BOLT,Hex Flg, 5/16" - 18 x 1", Spcl

10шт.

18

700112811

GUIDE

STRAP - inside, rear

5шт.

19

700112819

ANGLE

WA

1шт.

Выбрано товаров: 19