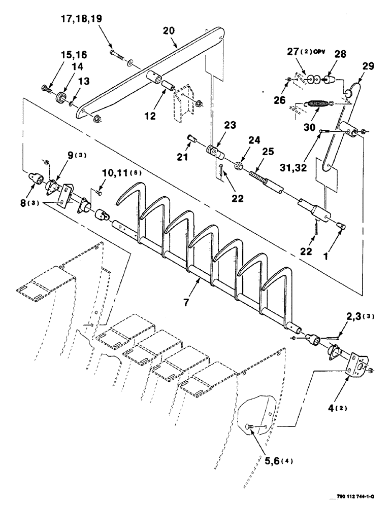
Запчасти Case IH 8590 (5-18) - HOLDING FINGER ASSEMBLY, STUFFER CHAMBER (13) - FEEDER

Схема запчастей Case IH 8590 - (5-18) - HOLDING FINGER ASSEMBLY, STUFFER CHAMBER (13) - FEEDER
11
1
21
17
10
7
9
6
29
13
3
5
27
8
2
30
20
14
25
18
16
24
4
23
31
22
19
22
32
28
26
12
15
FIT
1:1
100%

Артикул

Название

Примечание

Количество

1

427-8136

CLEVIS PIN,1/2" x 1.360"

1/2 X 1-1/4 CLEVIS PIN

1шт.

2

413-432

BOLT,Hex, 1/4" - 20 x 2", Gr 5

3шт.

3

232-4114

LOCK NUT,1/4"-20, GC

1/4-20 HTLN GR B

3шт.

4

6845507

BRACKET

2шт.

5

434-616

CARRIAGE BOLT,Sht Sq Nk, 3/8" - 16 x 1", Gr 5

3/8-16 X 1 RHSNB

4шт.

6

329-286

FLANGE NUT,Flg, 3/8"-16, G8

4шт.

7

700122691

FINGER

WA

1шт.

8

6105159

NYLON BEARING,1.75"

BEARING - tine

3шт.

9

6105621

FLANGE

HOUSING - bearing

3шт.

10

413-512

BOLT,Hex, 5/16" - 18 x 3/4", Gr 5

C Hex, 5/16"-18 x 3/4", G5, Full Thd

6шт.

11

232-5315

FLANGE NUT,Flg, 5/16"-18

5/16-18 HFTLN GR/G

6шт.

12

R37265

SPACER

- bushing

1шт.

13

52233

BUSHING

5/8 X 14 GAUGE NRMB

1шт.

14

667925R91

ROLLER BEARING,0.628" ID x 2" OD x 15 mm

1шт.

15

413-1028

BOLT,Hex, 5/8" - 11 x 1-3/4", Gr 5

5/8-11 X 1-3/4 C

1шт.

16

232-53110

FLANGE NUT,Flg, 5/8"-11

5/8-11 HFTLN GR/G

1шт.

17

413-848

BOLT,Hex, 1/2" - 13 x 3", Gr 5

1/2-13 X 3 C

1шт.

18

495-21056

WASHER,1/2"

1/2 WIDE PLAIN WASHER

1шт.

19

231-5348

FLANGE NUT,Flg, 1/2"-13

1/2-13 HFTLN GR/G

1шт.

20

700112833

LEVER

WA

1шт.

21

427-8150

CLEVIS PIN,1/2" x 1 1/2"

1/2X1.500 1.281 HD/HOLE CLEVIS ZND

1шт.

22

432-816

COTTER PIN,1/8" x 1"

1/8" x 1"

2шт.

23

66183

SHAFT

1/2-13 CLEVIS

1шт.

24

425-108

NUT,1/2" - 13, Gr 5

NUT, , Hex 1/2"-13, G5

1шт.

25

6845630

CONNECTING ROD

ROD WA - connecting

1шт.

26

230-4715

LOCK NUT,5/16"-24, GA

NUT, LOCK, 5/16"-24, GA

1шт.

27

700710049

WASHER

3/8 FENDER WASHER

2шт.

28

827568

BUMPER

- rubber

1шт.

29

700123488

ARM

WA

1шт.

30

700714987

SPRING

- extension

1шт.

31

700706548

HEX SOC SCREW

1/2-13 X 2-1/4 HSHCS SPL

1шт.

32

230-4118

LOCK NUT,1/2"-13, GA

1/2-13 HTLN GR/B

1шт.

Выбрано товаров: 32