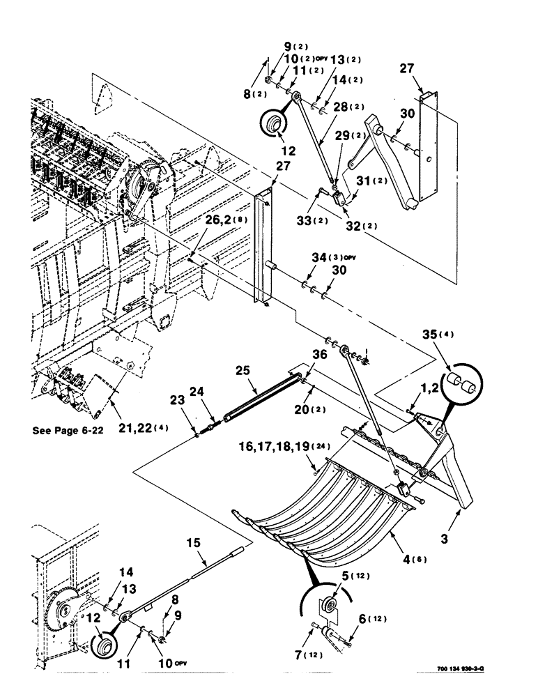
Запчасти Case IH 8590 (6-02) - NEEDLE ASSEMBLY (14) - BALE CHAMBER

Схема запчастей Case IH 8590 - (6-02) - NEEDLE ASSEMBLY (14) - BALE CHAMBER
6
9
26
4
30
32
21
17
22
25
9
24
35
15
33
14
34
19
2
12
10
28
31
1
5
27
8
16
36
29
10
2
3
18
27
11
7
12
11
30
23
13
20
14
13
8
FIT
1:1
100%

Артикул

Название

Примечание

Количество

1

413-1040

BOLT,Hex, 5/8" - 11 x 2-1/2", Gr 5

1шт.

2

232-53110

FLANGE NUT,Flg, 5/8"-11

5/8-11 HFTLN GR/G

9шт.

3

700113074

SUPPORT

WA - needle (Includes Ref: 35)

1шт.

4

700122690

NEEDLE

ASSEMBLY (Includes Ref: 5, 6 and 7)

6шт.

5

700707700

BALL BEARING,6.48 mm ID x 31.75 mm OD x 13.08 mm

BEARING

12шт.

6

164-102

HEX SOC SCREW,FLAT, #10 - 32 x 1/2"

#10-32 X 1/2 HSFCHCS

12шт.

7

866566

FASTENER,#10 - 32 x 9/16"

- special

12шт.

8

432-1640

COTTER PIN,1/4" x 2 1/2"

Pin, Split (Cotter), 1/4" x 2 1/2"

3шт.

9

25-1316

NUT,1"-14, G5

NUT, SLOTTED, 1"-14, G5

3шт.

10

52258

BUSHING

1 X 14 GAUGE NRMB

3шт.

11

495-81070

WASHER,1 1/32" x 1 1/2" x .120"

1 X 10 GAUGE NRMB

3шт.

12

D46620

BEARING,31.76 mm ID x 50.81 mm OD x 23.81 mm

BUSHING

2шт.

13

495-81205

WASHER,32.54mm ID x 50.8mm OD x 1.7mm Thk

1-1/4 X 14 GAUGE NRMB

3шт.

14

52324

BUSHING

1-1/4 X 10 GAUGE NRMB

3шт.

15

6530398

ROD

ASSEMBLY - safety (Includes Ref: 12)

1шт.

16

700710413

BOLT,Round, 1/2" - 13 x 2 1/2", Grade 8, BLK

1/2-13 X 2-1/2 RHSNB GR8 NP

24шт.

17

495-21056

WASHER,1/2"

1/2 HARDENED PLAIN WASHER

24шт.

18

20835R1

NUT,1/2"-13, G8

1/2-13 H GR8 NP

24шт.

19

700710414

JAM NUT

1/2-13 HJN GR8 BF

24шт.

20

52233

BUSHING

5/8 X 14 GAUGE NRMB

2шт.

21

121-226

SERRATED BOLT,Hex, 3/8" - 16 x 1"

4шт.

22

232-5316

FLANGE NUT,Flg, 3/8"-16

3/8-16 HFTLN GR/G

4шт.

23

425-1514

JAM NUT,Jam, 7/8"-14, G5

7/8-14 HJN GR2

1шт.

24

6530604

ROD

- adjusting

1шт.

25

700113098

STRAP

WA - safety

1шт.

26

413-1024

BOLT,Hex, 5/8" - 11 x 1-1/2", Gr 5

8шт.

27

6848949

PIVOT

WA

2шт.

28

700113095

ADJUSTMENT ROD

ROD ADJUSTING - connecting (Includes Ref: 12)

2шт.

29

425-1416

JAM NUT,Jam, 1"-8, G5

1-8 HJN GR2

2шт.

30

52944

SPACER

1-3/4 X 10 GAUGE NRMB

2шт.

31

38-31624

ROLL PIN,1/4" x 1 1/2", Coiled

PIN, ROLL, 1/4" x 1 1/2", Coiled

2шт.

32

6530364

CLEVIS,1" - 8

WA

2шт.

33

700709960

PIN

CLEVIS - pin

2шт.

34

700706146

WASHER

3шт.

35

6849160

BRONZE BUSHING,44.74mm ID x 50.93mm OD x 38.1mm L

BEARING - bronze

4шт.

36

667925R91

ROLLER BEARING,0.628" ID x 2" OD x 15 mm

1шт.

Выбрано товаров: 36