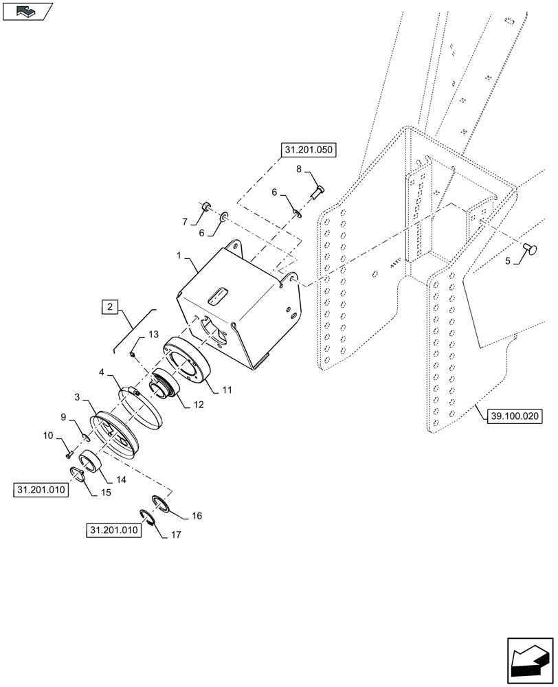
Запчасти Case IH LB324R (31.201.020) - POWER TAKE-OFF, HITCH FRAME (31) - IMPLEMENT POWER TAKE OFF

Схема запчастей Case IH LB324R - (31.201.020) - POWER TAKE-OFF, HITCH FRAME (31) - IMPLEMENT POWER TAKE OFF
39.100.020
6
6
13
3
12
15
7
14
10
5
2
9
16
1
4
home
17
11
8
31.201.010
31.201.010
31.201.050
FIT
1:1
100%

Артикул

Название

Примечание

Количество

1

84259832

SUPPORT

1шт.

2

87758780

BEARING ASSY,45 mm ID x 85 mm OD x 52 mm

Incl 11 - 13, Serial Range: -C136

1шт.

2

47938764

BALL BEARING

Incl 11 - 13, Start Serial: D137

1шт.

3

87716646

SHIELD

1шт.

4

573305

CLAMP,5.56" - 6.5"

1шт.

5

120044

CARRIAGE BOLT,M12 x 1.75 x 30mm, Cl 8.8

4шт.

6

140046

BELLEVILLE WASHER,M12 Bolt Size x 27mm OD x 1.8mm Thk

7шт.

7

9706685

NUT,M12 x 1.75, Cl 8

4шт.

8

9706687

BOLT,M12 x 1.75 x 30mm, Cl 8.8

3шт.

9

362776

WASHER

4шт.

10

86508568

BOLT,Hex, M6 x 1 x 16mm, Cl 8.8

4шт.

11

87744011

BEARING HOUSING,45 mm ID x 85 mm OD x 52 mm

, Serial Range: -C136

1шт.

11

47818799

BEARING HOUSING

, Start Serial: D137

1шт.

12

9839347

BEARING ASSY,45mm ID x 85mm OD x 22mm W

, Serial Range: -C136

1шт.

12

NSS

NOT SOLD SEPARAT

Bearing Incl in 2, Start Serial: D137

1шт.

13

321204

LUBE NIPPLE,M6 x 1.0 x 16mm OAL

1шт.

14

84388820

SLEEVE,45mm ID x 60mm OD x 22.8mm L

, Serial Range: -C136

1шт.

15

86566989

CABLE TIE,208mm L

, Serial Range: -C136

1шт.

16

47534604

RING

, Start Serial: D137

1шт.

17

5135061

CIRCLIP,M45, Ext

, Start Serial: D137

1шт.

Выбрано товаров: 20