Запчасти Case IH LB333P (13.12[01]) - PACKER (13) - FEEDER

Схема запчастей Case IH LB333P - (13.12[01]) - PACKER (13) - FEEDER
15
13
2
21
30
12
2
6
3
10
22
13
20
27
4
3
7
26
3
8
33
10
19
1
18
28
1
24
5
6
11
9
home
23
3
9
4
13.11
2
5
14
26
32
7
25
2
16
4
31
17
29
4
9
26
FIT
1:1
100%

Артикул

Название

Примечание

Количество

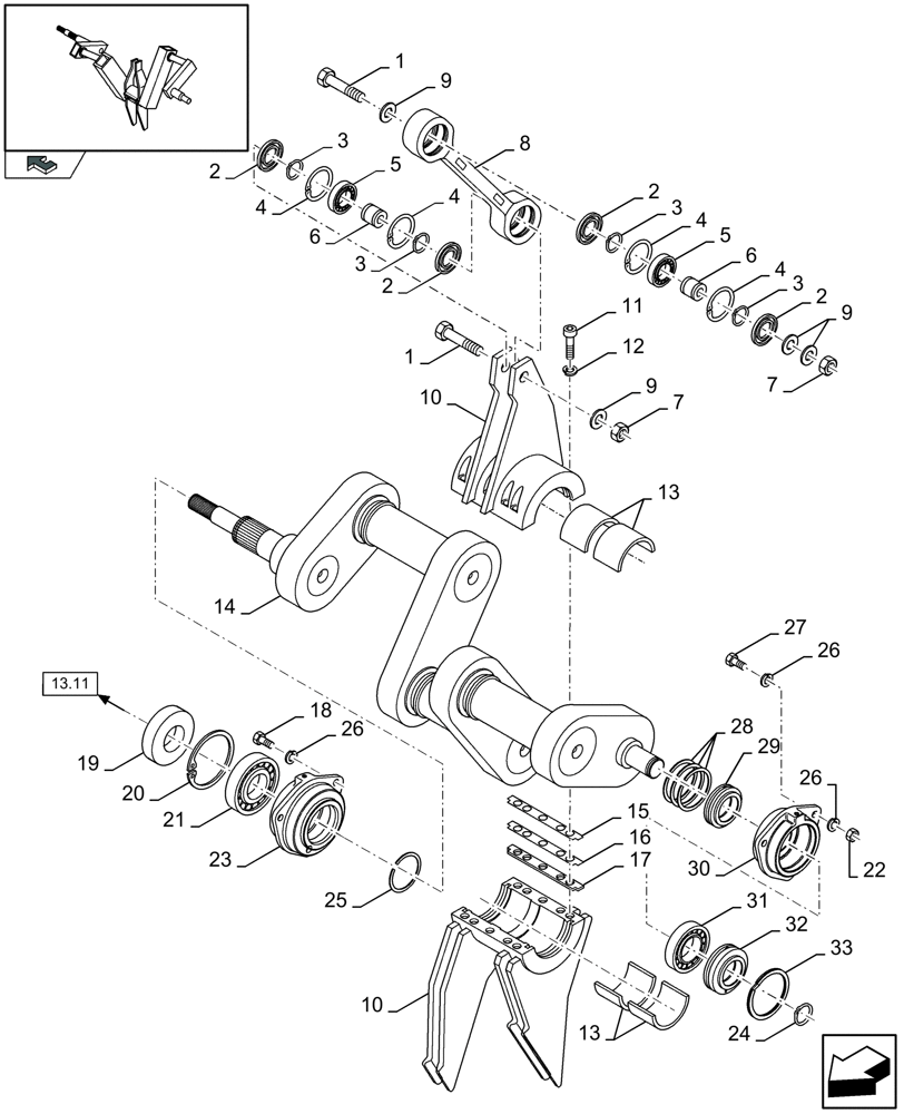
1

374889

BOLT,Hex, M16 x 100mm, Cl 8.8

6шт.

2

417722

SEAL,30mm ID x 62mm OD x 7mm Thk

12шт.

3

370003

SNAP RING,M30, External

12шт.

4

370012

RING,M62, Internal

12шт.

5

84039251

SPHERICAL BEARING,30mm ID x 62mm OD x 20mm W

6шт.

MAINTENANCE PART

1шт.

6

84039273

BUSHING

6шт.

7

86000441

NUT,M16 x 2.0, Cl 8

6шт.

8

84074860

LINK CONROD

3шт.

9

394631

WASHER,17mm ID x 34mm OD x 4mm Thk

12шт.

11

84039422

HEX SOC SCREW,M12 x 1.25 x 40mm, Cl 8.8

30шт.

10

87325595

FINGER

3шт.

12

84039421

SPRING WASHER,12.2mm ID x 18mm OD x 2.5mm Thk

30шт.

13

87325607

SLEEVE

(SET OF 2)

6шт.

MAINTENANCE PART

1шт.

14

84320487

CRANKSHAFT

1шт.

15

84039432

SHIM

THK.: 0.1 MM

1шт.

MAINTENANCE PART

1шт.

15

84039433

SHIM

THK.: 0.2 MM

1шт.

MAINTENANCE PART

1шт.

16

87324678

SHIM

THK.: 0.8 MM

1шт.

MAINTENANCE PART

1шт.

17

87324637

SHIM

THK.: 6 MM

1шт.

MAINTENANCE PART

1шт.

18

300388

BOLT,Hex, M12 x 1.75 x 25mm, Cl 8.8

3шт.

19

84074233

SEAL,100mm ID x 135mm OD x 13mm Thk

SEALRING

1шт.

20

370014

SNAP RING,M130, Internal

1шт.

21

84074235

SPHERICAL BEARING,75mm ID x 130mm OD x 31mm W

1шт.

MAINTENANCE PART

1шт.

22

9706685

NUT,M12 x 1.75, Cl 8

3шт.

23

84074364

BEARING HOUSING,95 mm ID x 152 mm OD x 76 mm

1шт.

24

370006

SNAP RING,M40, Ext

1шт.

25

84004409

SEAL,85mm ID x 100mm OD x 9mm Thk

1шт.

26

140046

BELLEVILLE WASHER,M12 Bolt Size x 27mm OD x 1.8mm Thk

9шт.

27

300389

BOLT,M12 x 1.75 x 35mm, Cl 8.8

3шт.

28

84037891

SNAP RING

3шт.

29

84037892

FLANGE

1шт.

30

84074862

BEARING HOUSING,70 mm ID x 98 mm OD x 61 mm

1шт.

31

323327

SPHERICAL BEARING,40mm ID x 80mm OD x 23mm W

1шт.

MAINTENANCE PART

1шт.

32

84037895

FLANGE

1шт.

33

9850345

RING

1шт.

Выбрано товаров: 42