Запчасти Case IH LB333P (01.02[01]) - POWER TAKE-OFF, HITCH FRAME (01) - POWER TAKE OFF

Схема запчастей Case IH LB333P - (01.02[01]) - POWER TAKE-OFF, HITCH FRAME (01) - POWER TAKE OFF
4
6
3
7
12
01.04
11
2
8
5
home
01.01
12.01
10
6
1
9
13
FIT
1:1
100%

Артикул

Название

Примечание

Количество

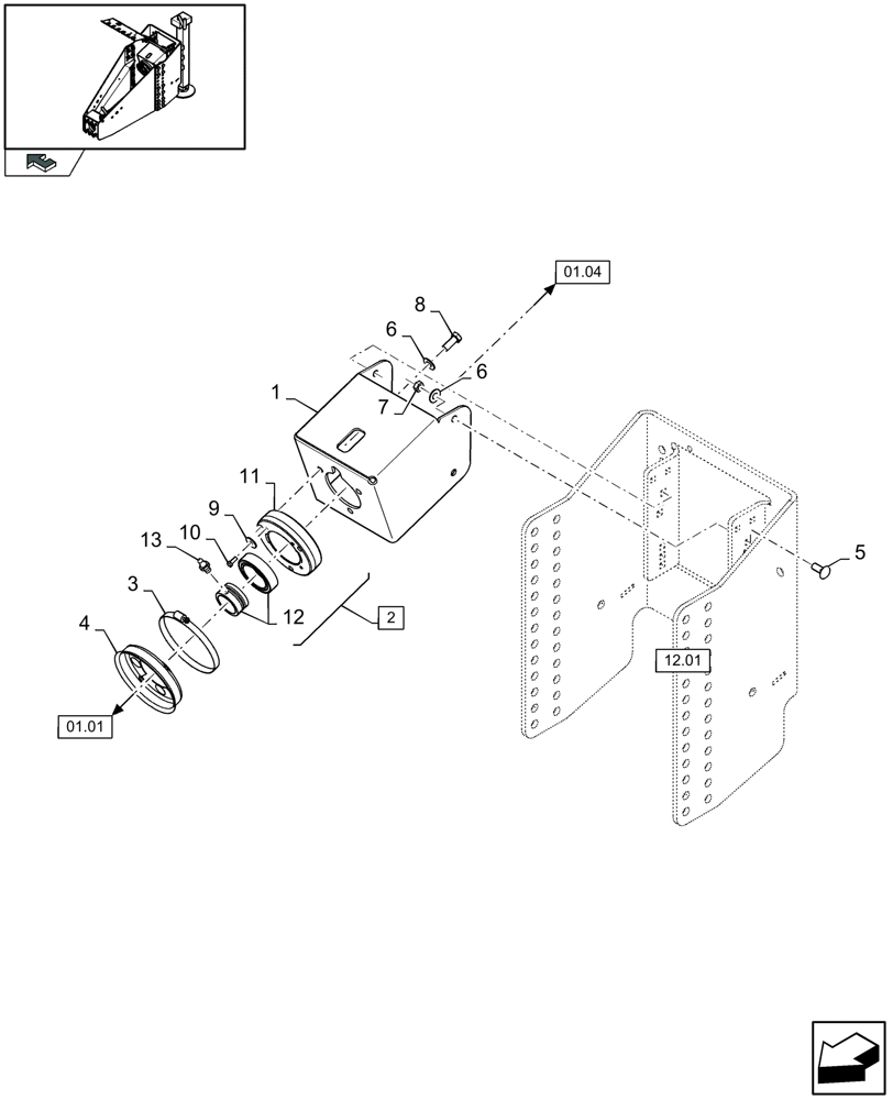
1

87529042

PLATE

, Serial Range: -C707

1шт.

1

84138863

SUPPORT

, Serial Range: -F708813

1шт.

1

84259832

SUPPORT

, Start Serial: D814

1шт.

2

87758780

BEARING ASSY,45 mm ID x 85 mm OD x 52 mm

(11 to 13)

1шт.

3

573305

CLAMP,5.56" - 6.5"

1шт.

4

87716646

SHIELD

1шт.

5

120044

CARRIAGE BOLT,M12 x 1.75 x 30mm, Cl 8.8

4шт.

6

140046

BELLEVILLE WASHER,M12 Bolt Size x 27mm OD x 1.8mm Thk

7шт.

7

9706685

NUT,M12 x 1.75, Cl 8

4шт.

8

9706687

BOLT,M12 x 1.75 x 30mm, Cl 8.8

3шт.

9

362776

WASHER

4шт.

10

86508568

BOLT,Hex, M6 x 1 x 16mm, Cl 8.8

4шт.

11

87744011

BEARING HOUSING,45 mm ID x 85 mm OD x 52 mm

1шт.

12

9839347

BEARING ASSY,45mm ID x 85mm OD x 22mm W

1шт.

13

321204

LUBE NIPPLE,M6 x 1.0 x 16mm OAL

1шт.

Выбрано товаров: 15