Запчасти Case IH LB333R (03.01[01]) - MAIN GEARBOX, HOUSING (03) - MAIN GEARBOX

Схема запчастей Case IH LB333R - (03.01[01]) - MAIN GEARBOX, HOUSING (03) - MAIN GEARBOX
10
8
5
2
home
4
03.11
6
03.02
7
9
1
12
13
3
03.04
11
03.03
FIT
1:1
100%

Артикул

Название

Примечание

Количество

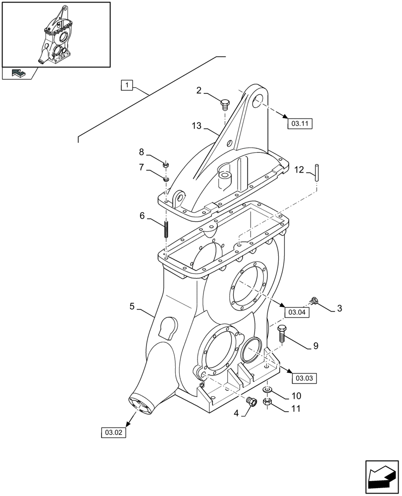
1

87531435

GEARBOX

Incl. figs. 03.01 to 03.05

1шт.

87531435R

REMAN-GEARBOX

LB333P, LB333R, LB333S, All Serial Range: 03.01-03.05 (9/08-)

1шт.

87531435C

CORE-GEARBOX

Return Number

1шт.

2

84074435

BREATHER

M24 x 2

1шт.

3

84074433

PLUG

Incl Washer, M24 x 2

1шт.

4

84074434

INDICATOR

M24 x 2

1шт.

5

87718404

HOUSING

1шт.

6

84074461

STUD,M14 x 68mm, Cl 12.9

17шт.

7

140030

LOCK WASHER,M14

17шт.

8

10719411

NUT,M14 x 2, Cl 8

17шт.

9

89837787

SCREW

M24 x 200

8шт.

10

89818872

LOCK WASHER

25 MM

8шт.

11

89837788

NUT

M24

8шт.

12

84000778

SPINDLE

2шт.

13

84074444

HOUSING

1шт.

Выбрано товаров: 15