Запчасти Case IH LB433R (13.30[01]) - SHUTTLE FEEDER TRANSMISSION (13) - FEEDER

Схема запчастей Case IH LB433R - (13.30[01]) - SHUTTLE FEEDER TRANSMISSION (13) - FEEDER
19
13
6
25
29
10
home
13.29
31
24
2
20
23
20
30
18
3
12
22
14
7
13.29
28
5
26
16
15
1
20
17
11
9
8
19
4
29
27
28
3
21
FIT
1:1
100%

Артикул

Название

Примечание

Количество

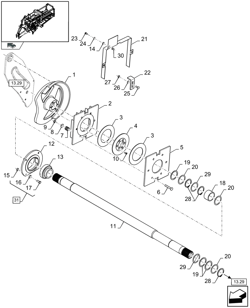
1

87748635

FEEDER

1шт.

2

84819162

FLANGE

1шт.

3

9838773

DISC

, Serial Range: -C927

2шт.

MAINTENANCE PART

1шт.

3

84476390

BRAKE DISC,127mm ID x 203mm OD x 3.2mm Thk

, Start Serial: D928

2шт.

MAINTENANCE PART

1шт.

4

84007445

PLATE

1шт.

5

9838755

FLANGE

1шт.

6

300662

CARRIAGE BOLT,Sht Sq Nk, M12 x 1.75 x 80mm, Cl 8.8

3шт.

7

84014109

SPRING

3шт.

8

543043

WASHER,13mm ID x 35mm OD x 2.5mm Thk

3шт.

9

100038

NUT,M12 x 1.75, Cl 8

3шт.

10

412495

HEX SOC SCREW,Flat Hd, M8 x 20mm, Cl 8.8

6шт.

11

84074036

SHAFT

1шт.

FOR LB323S, LB323P, LB323R, LB333S, LB333P, LB333R ONLY

1шт.

11

84074035

SHAFT

1шт.

FOR LB423S, LB423R, LB433S, LB433R ONLY

1шт.

12

9839132

BEARING HOUSING,125 mm ID x 250 mm OD x 47.5 mm

1шт.

13

9839131

BALL BEARING,70mm ID x 125mm OD x 28mm W

1шт.

14

378243

WASHER,8.4mm ID x 21mm OD x 1.6mm Thk

3шт.

15

9706685

NUT,M12 x 1.75, Cl 8

4шт.

16

140046

BELLEVILLE WASHER,M12 Bolt Size x 27mm OD x 1.8mm Thk

4шт.

17

9706687

BOLT,M12 x 1.75 x 30mm, Cl 8.8

4шт.

18

84000030

BUSHING,70mm ID x 82.5mm OD x 48mm L

1шт.

19

9839164

WASHER,70mm ID x 86mm OD x 2mm Thk

1шт.

20

9839161

WASHER,70mm ID x 86mm OD x 1mm Thk

1шт.

21

84021669

SHIELD

1шт.

22

9839159

SUPPORT

2шт.

23

120104

BOLT,Hex, M8 x 1.25 x 20mm, Cl 8.8

3шт.

24

322358

BELLEVILLE WASHER,M8 Bolt Size x 18mm OD x 1.4mm Thk

3шт.

25

86512446

CARRIAGE BOLT,M10 x 1.5 x 30mm, Cl 8.8

4шт.

26

140045

BELLEVILLE WASHER,M10 Bolt Size x 22mm OD x 1.6mm Thk

4шт.

27

100016

NUT,M10 x 1.5, Cl 8

4шт.

28

300636

SNAP RING,M70, External

1шт.

29

84000021

SHIM,70mm ID x 86mm OD x 0.5mm Thk

1шт.

30

84021989

NUT

3шт.

31

9839130

BEARING HOUSING

(12, 13)

1шт.

Выбрано товаров: 37