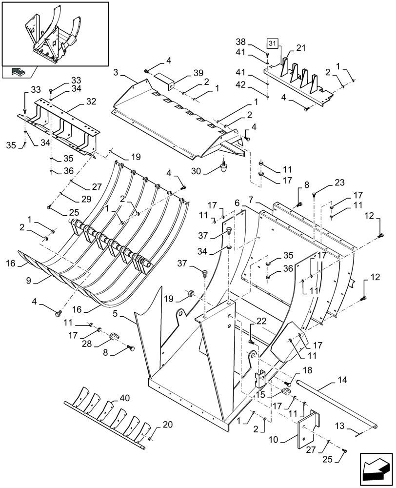
Запчасти Case IH LB433S (13.20[01]) - FEED CHAMBER (13) - FEEDER

Схема запчастей Case IH LB433S - (13.20[01]) - FEED CHAMBER (13) - FEEDER
8
40
2
31
35
42
17
3
11
1
2
1
35
37
2
12
21
11
36
1
27
4
25
17
25
35
16
22
7
4
6
11
19
33
29
1
34
2
14
28
38
36
11
10
39
15
4
13
17
41
4
4
17
19
20
home
11
1
37
32
27
34
34
17
11
11
9
33
41
23
30
2
8
16
12
2
1
17
5
18
17
FIT
1:1
100%

Артикул

Название

Примечание

Количество

1

100016

NUT,M10 x 1.5, Cl 8

1шт.

2

140045

BELLEVILLE WASHER,M10 Bolt Size x 22mm OD x 1.6mm Thk

1шт.

3

84000485

SUPPORT

1шт.

FOR LB323S, LB333S ONLY

1шт.

3

89839102

SUPPORT

1шт.

FOR LB423S, LB433S ONLY

1шт.

4

338949

CARRIAGE BOLT,M10 x 1.5 x 25mm, Cl 8.8

1шт.

5

84818762

FRAME

1шт.

FOR LB323S, LB333S ONLY

1шт.

5

84818657

FRAME

1шт.

FOR LB423S, LB433S ONLY

1шт.

6

84000484

PLATE

1шт.

FOR LB323S, LB333S ONLY

1шт.

MAINTENANCE PART

1шт.

6

89839076

PLATE

1шт.

MAINTENANCE PART

1шт.

FOR LB423S, LB433S ONLY

1шт.

7

84078468

PLATE

1шт.

FOR LB323S, LB333S ONLY

1шт.

7

84078464

PLATE

1шт.

FOR LB423S, LB433S ONLY

1шт.

8

86512443

CARRIAGE BOLT,Sht Nk, M8 x 35mm, Cl 8.8, Full Thd

1шт.

9

9839096

GUIDE

1шт.

FOR LB323S, LB333S ONLY

1шт.

9

9839096

GUIDE

2шт.

FOR LB423S, LB433S ONLY

1шт.

9

84429868

GUIDE

2шт.

FOR LB323S, LB333S ONLY

1шт.

FOR DRY HAY FEEDING KIT, WITH SLEEVE

1шт.

9

84429868

GUIDE

3шт.

FOR DRY HAY FEEDING KIT, WITH SLEEVE

1шт.

FOR LB423S, LB433S ONLY

1шт.

10

84100500

PLATE

1шт.

11

9706690

NUT,M8 x 1.25, Cl 8

1шт.

12

308761

CARRIAGE BOLT,M8 x 1.25 x 25mm, Cl 8.8

16шт.

13

300423

COTTER PIN,M6.3 x 50

2шт.

14

84004017

ROD

1шт.

FOR LB323S, LB333S ONLY

1шт.

14

9839098

ROD,25mm OD x 1249mm L

1шт.

FOR LB423S, LB433S ONLY

1шт.

15

9837806

FLANGED BEARING,25mm ID

1шт.

16

87380173

GUIDE

2шт.

17

322358

BELLEVILLE WASHER,M8 Bolt Size x 18mm OD x 1.4mm Thk

1шт.

18

412183

CARRIAGE BOLT,Short Sq Nk, M10 x 35mm, Cl 8.8

1шт.

19

9706685

NUT,M12 x 1.75, Cl 8

6шт.

20

84004713

BUSHING,10.5mm ID x 25mm OD x 18mm L

1шт.

21

84068687

SCRAPER BLADE

4шт.

WELD-ON

1шт.

22

86507486

CARRIAGE BOLT,M8 x 1.25 x 20mm, Cl 8.8

4шт.

23

43127

BOLT,Hex, M8 x 1.25 x 25mm, Cl 8.8

1шт.

25

300389

BOLT,M12 x 1.75 x 35mm, Cl 8.8

6шт.

26

140040

WASHER,6.6mm ID x 22mm OD x 2mm Thk

1шт.

27

140046

BELLEVILLE WASHER,M12 Bolt Size x 27mm OD x 1.8mm Thk

6шт.

28

9839087

NYLON BEARING,25.5mm ID x 50mm OD x 30mm Thk

1шт.

29

378245

WASHER,13mm ID x 28.5mm OD x 2.7mm Thk

4шт.

30

84005089

STOP,M8 x 1.25 x 50mm, Rubber

2шт.

31

84801001

SUPPORT

(21)

1шт.

FOR LB323S, LB333S ONLY

1шт.

31

84800990

PLATE

(21)

1шт.

FOR LB423S, LB433S ONLY

1шт.

32

84074219

SUPPORT

1шт.

FOR LB323S, LB333S ONLY

1шт.

32

84074226

SUPPORT

1шт.

FOR LB423S, LB433S ONLY

1шт.

33

86508583

BOLT,Hex, M16 x 35mm, Cl 8.8, Full Thd

1шт.

34

394631

WASHER,17mm ID x 34mm OD x 4mm Thk

1шт.

35

140048

BELLEVILLE WASHER,M16 Bolt Size x 32mm OD x 2.8mm Thk

1шт.

36

86000441

NUT,M16 x 2.0, Cl 8

1шт.

37

43168

BOLT,Hex, M16 x 40mm, Cl 8.8

6шт.

38

84053391

CARRIAGE BOLT,Short NK, M12 x 130, Cl8.8

4шт.

39

84073277

PLATE

1шт.

40

84818587

SHAFT

1шт.

FOR LB323S, LB333S ONLY

1шт.

40

84818589

SHAFT

1шт.

FOR LB423S, LB433S ONLY

1шт.

41

86511324

WASHER,13mm ID x 24mm OD x 2.5mm Thk

1шт.

42

9706685

NUT,M12 x 1.75, Cl 8

1шт.

Выбрано товаров: 77