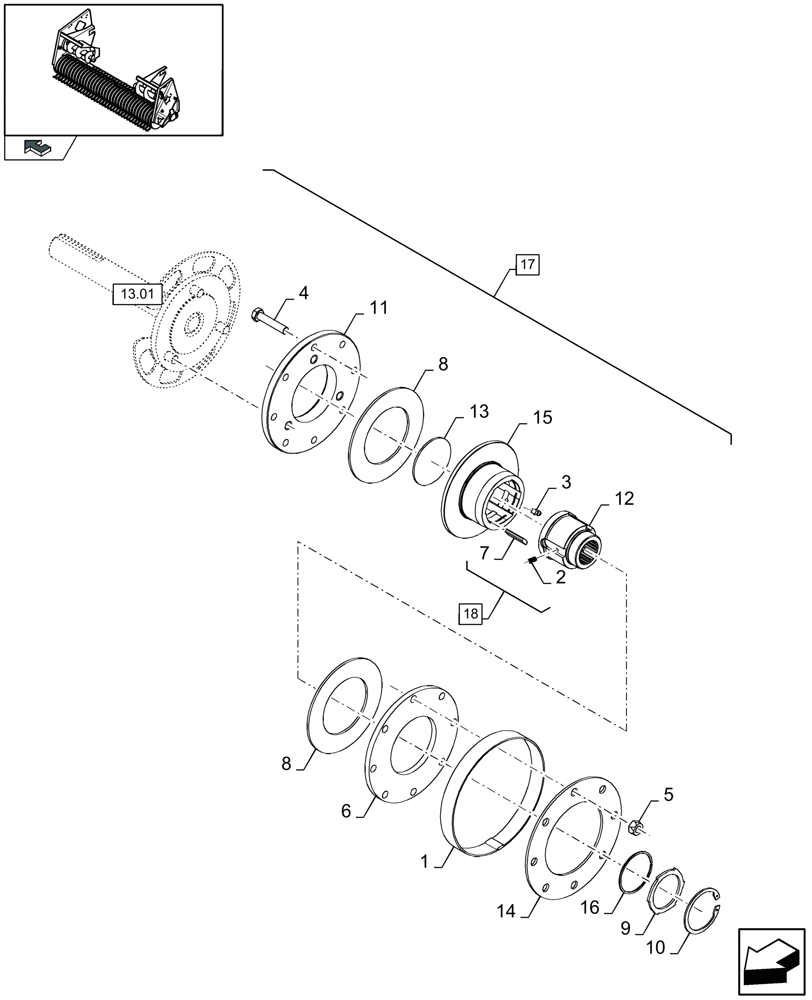
Запчасти Case IH LB433S (13.35[01]) - PICK-UP, MAIN TRANSMISSION - CLUTCH (13) - FEEDER

Схема запчастей Case IH LB433S - (13.35[01]) - PICK-UP, MAIN TRANSMISSION - CLUTCH (13) - FEEDER
16
2
10
5
home
13
7
9
14
8
12
4
15
18
6
17
8
1
13.01
11
3
FIT
1:1
100%

Артикул

Название

Примечание

Количество

1

87732056

SPACER

1шт.

2

NSS

NOT SOLD SEPARAT

3шт.

3

321204

LUBE NIPPLE,M6 x 1.0 x 16mm OAL

1шт.

4

120069

BOLT,M10 x 1.5 x 56.58mm OAL, Cl 8.8

8шт.

5

100037

LOCK NUT,M10 x 1.5, Cl 8

8шт.

6

87731730

PLATE

, Serial Range: -C869

1шт.

6

87565205

PLATE

, Start Serial: D870

1шт.

7

NSS

NOT SOLD SEPARAT

3шт.

8

87731708

DISC

, Serial Range: -C869

2шт.

MAINTENANCE PART

1шт.

8

87565196

DISC

, Start Serial: D870

2шт.

MAINTENANCE PART

1шт.

9

87731760

LOCKING PLATE

1шт.

10

87731756

CIRCLIP

1шт.

11

87732109

FLANGE

1шт.

12

87732110

HUB

1шт.

13

87731721

PLATE

1шт.

14

87731755

BELLEVILLE SPRING

1шт.

15

87732111

CLUTCH HOUSING

1шт.

16

87731710

RING

1шт.

17

87364750

CLUTCH

(1 to 16, 18)

1шт.

18

84004498

REPAIR KIT

(2, 7)

1шт.

MAINTENANCE PART

1шт.

Выбрано товаров: 23