Запчасти Case IH LB434R (88.070.013[01]) - DIA KIT: FIXED KNIFE & HAY-DOGS - STONE KIT - D099 (88) - ACCESSORIES

Схема запчастей Case IH LB434R - (88.070.013[01]) - DIA KIT: FIXED KNIFE & HAY-DOGS - STONE KIT - D099 (88) - ACCESSORIES
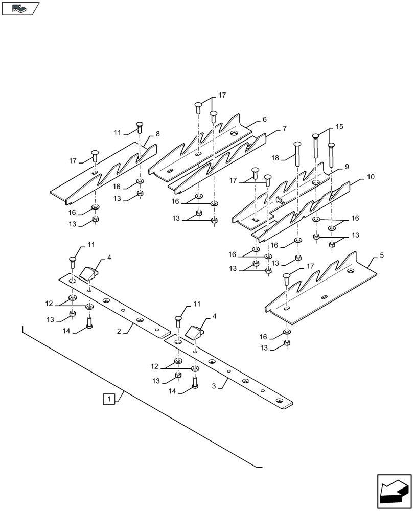
1
4
13
14
home
9
13
16
16
12
13
13
16
17
16
11
10
7
11
12
13
17
14
13
17
13
16
13
2
17
6
16
16
13
4
11
5
15
18
8
3
FIT
1:1
100%

Артикул

Название

Примечание

Количество

1

47506760

DIA KIT, HARVESTER

Incl 2 - 18

1шт.

2

84814538

KNIFE,540mm L x 60mm W x 10mm Thk

1шт.

3

84814537

KNIFE,630mm L x 60mm W x 10mm Thk

1шт.

4

47429062

GUIDE

6шт.

5

47497510

GUIDE

1шт.

6

47495521

GUIDE

3шт.

7

47495519

GUIDE

3шт.

8

47497512

GUIDE

1шт.

9

47495170

GUIDE

2шт.

10

47495168

GUIDE

2шт.

11

380420

BOLT

15шт.

12

87376144

WASHER,13mm ID x 28mm OD x 5mm Thk

13шт.

13

9706685

NUT,M12 x 1.75, Cl 8

43шт.

14

9824642

BOLT,M12 x 1.75 x 42.68mm, Cl 10.9

6шт.

15

47510146

PLOW BOLT,M12 x 100, Cl 8.8

4шт.

16

140046

BELLEVILLE WASHER,M12 Bolt Size x 27mm OD x 1.8mm Thk

36шт.

17

328754

CARRIAGE BOLT,M12 x 1.75 x 40mm, Cl 8.8

20шт.

18

47480247

CARRIAGE BOLT,Short Sq Nk, M12 x 1.75 x 100mm, Cl 8.8

4шт.

Выбрано товаров: 18