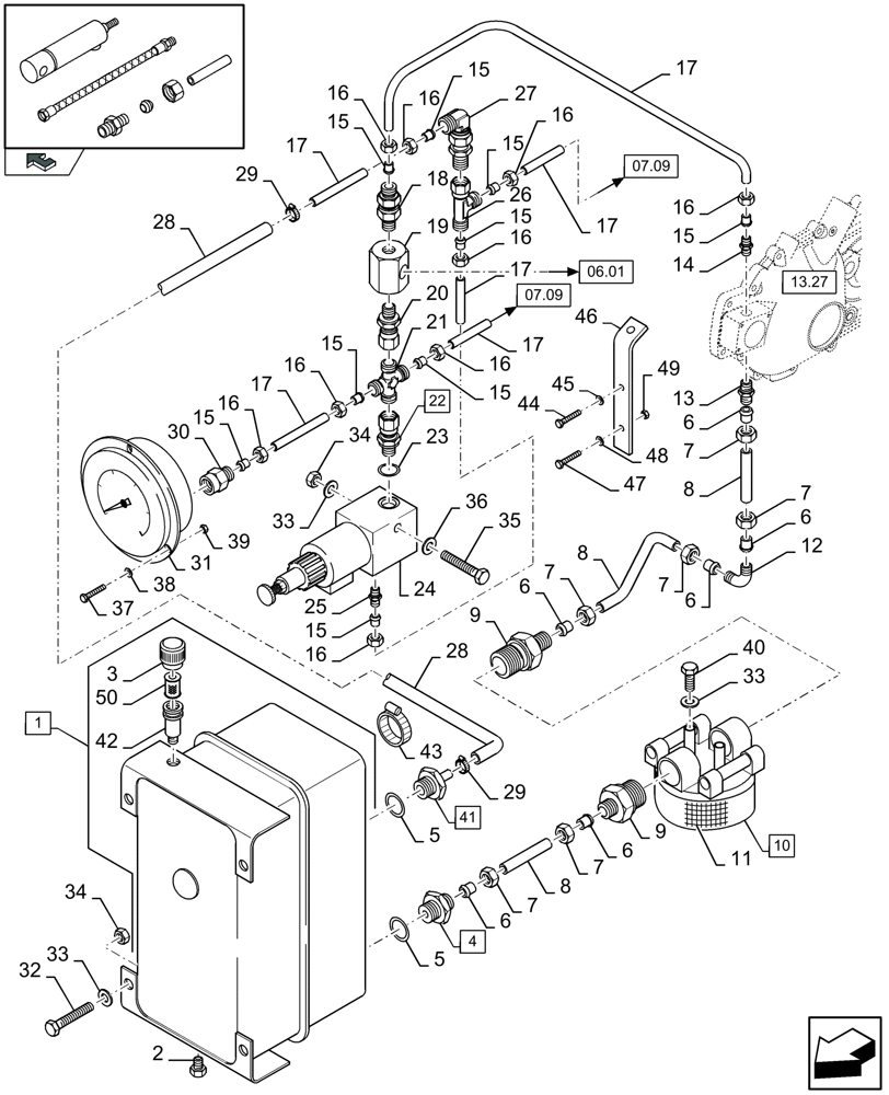
Запчасти Case IH LBX332P (07.08[01]) - DENSITY PRESSER SYSTEM, FRONT - C479 (07) - HYDRAULIC SYSTEM

Схема запчастей Case IH LBX332P - (07.08[01]) - DENSITY PRESSER SYSTEM, FRONT - C479 (07) - HYDRAULIC SYSTEM
17
28
33
15
15
7
2
34
15
17
7
41
42
23
07.09
16
8
27
13
7
30
20
6
24
29
06.01
16
9
8
16
48
46
33
49
07.09
5
18
8
15
17
6
44
16
22
12
45
16
4
7
16
6
16
7
31
5
19
13.27
3
home
26
29
38
15
17
15
14
35
33
17
7
15
34
15
40
21
16
32
47
6
16
17
43
37
10
9
11
28
25
17
36
1
39
6
6
50
15
FIT
1:1
100%

Артикул

Название

Примечание

Количество

1

84819492

RESERVOIR, HYDRAULIC

(2, 3, 42, 50, 51)

1шт.

2

84078485

PLUG

1шт.

3

84819493

FILLER CAP

1шт.

4

84074610

HYD CONNECTOR

(5)

1шт.

5

84032746

O-RING,2.1mm Thk x 15.4mm ID, 90 Duro

1шт.

6

80150014

FERRULE

10 MM

1шт.

7

86548975

PIPE UNION NUT,M16 x 1.5

M10

1шт.

8

80371539

RIGID TUBE

D= 10 MM, L= 2 M

1шт.

9

84064606

HYD CONNECTOR

2шт.

10

84068686

HYDRAULIC OIL FILTER

ASSEMBLY, (11)

1шт.

11

84078520

HYDRAULIC OIL FILTER

ELEMENT

1шт.

MAINTENANCE PART

1шт.

12

84007700

ELBOW

1шт.

13

89813512

HYD CONNECTOR

1шт.

14

84043514

HYD CONNECTOR

1шт.

15

80335136

FERRULE

8 MM

1шт.

16

80335135

NUT

M8

1шт.

17

80371540

RIGID TUBE

D= 8 MM, L= 2 M

1шт.

18

84069412

ADVANCE VALVE

1шт.

19

84068862

HYD CONNECTOR

1шт.

20

84064607

HYD CONNECTOR

1шт.

21

84069072

HYD CONNECTOR

1шт.

22

84100140

HYD CONNECTOR

(23)

1шт.

23

80165202

O-RING

1шт.

24

84056783

HYDRAULIC VALVE

1шт.

25

89850318

HYD CONNECTOR

1шт.

26

84064562

HYD CONNECTOR

1шт.

27

84041508

HYD CONNECTOR

1шт.

28

84458460

HOSE,8.00 mm ID x 650.00 mm

1шт.

29

80913888

HOSE CLAMP

2шт.

30

84064667

HYD CONNECTOR

1шт.

31

89837610

MEASURING INSTRUMENT

, Serial Range: -C427

1шт.

31

84801502

MEASURING INSTRUMENT

, Start Serial: D428

1шт.

32

120104

BOLT,Hex, M8 x 1.25 x 20mm, Cl 8.8

4шт.

33

80322358

LOCK WASHER

8 MM

1шт.

34

89706690

NUT,M8, Cl 8

1шт.

35

80300510

SCREW

M8 x 65

1шт.

35

80043133

SCREW

M8 x 80

1шт.

36

80140041

WASHER

9 MM

1шт.

37

86511816

SCREW,Pan, M3 x 0.5 x 16mm, Cl 4.8

, Serial Range: -C427

3шт.

38

89511936

RIVET

, Start Serial: D428

3шт.

38

80412547

LOCK WASHER

3 MM, Serial Range: -C427

3шт.

39

86508812

NUT,M3, Cl 8

, Serial Range: -C427

3шт.

40

16043224

BOLT,Hex, M8 x 16mm, Cl 8.8

2шт.

41

84074545

HYD CONNECTOR

(5)

1шт.

42

84320893

TUBE

1шт.

43

80323597

STRAP

2шт.

44

80043127

SCREW,M8 x 25mm

M8 x 25

2шт.

45

80322358

LOCK WASHER

8 MM

1шт.

46

84818476

SUPPORT

2шт.

47

86977790

BOLT,Hex, M6 x 45mm, Cl 8.8

M6 x 45

3шт.

48

80140015

WASHER

6 MM

1шт.

49

80412152

NUT

M6

1шт.

50

84819494

HYDRAULIC OIL FILTER

1шт.

MAINTENANCE PART

1шт.

51

84457448

LEVEL GAUGE

1шт.

Выбрано товаров: 56