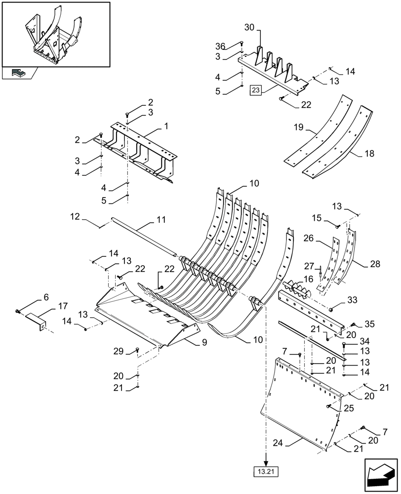
Запчасти Case IH LBX332P (13.22[01]) - FEED CHAMBER (13) - FEEDER

Схема запчастей Case IH LBX332P - (13.22[01]) - FEED CHAMBER (13) - FEEDER
20
33
25
21
13
21
28
20
14
18
14
23
7
24
3
3
21
22
27
13
21
5
5
20
6
4
19
15
29
14
7
4
9
13
14
13
home
30
13
13.21
17
12
2
20
20
10
13
22
11
3
4
10
22
2
26
1
35
36
34
16
21
FIT
1:1
100%

Артикул

Название

Примечание

Количество

1

84074197

SUPPORT

1шт.

2

86508583

BOLT,Hex, M16 x 35mm, Cl 8.8, Full Thd

12шт.

3

80394631

WASHER

16 MM

1шт.

4

80140048

WASHER

16 MM

1шт.

5

86000441

NUT,M16 x 2.0, Cl 8

1шт.

6

89706685

NUT

M12

1шт.

7

80043127

SCREW,M8 x 25mm

Cap, HH, CL 8.8, M8 x 1.25 x 25

1шт.

8

80120090

SCREW

M16 x 50

8шт.

9

84038871

SUPPORT

1шт.

10

84062685

GUIDE

, Serial Range: -C547

7шт.

10

87392780

GUIDE

, Serial Range: -F548655

7шт.

10

87682542

GUIDE

, Start Serial: D656

1шт.

11

84038868

ROD

1шт.

12

80300423

COTTER PIN

2шт.

13

80140045

WASHER

Belleville, M10

1шт.

14

100016

NUT,M10 x 1.5, Cl 8

1шт.

15

43138

BOLT,Hex, M10 x 1.5 x 20mm, Cl 8.8

1шт.

16

84818579

SHAFT

1шт.

17

84073277

PLATE

1шт.

18

84607485

PLATE

Middle

3шт.

IN FILL FLOW KIT

1шт.

19

84607490

PLATE

Middle

3шт.

IN FILL FLOW KIT

1шт.

20

80322358

LOCK WASHER

8 MM

1шт.

21

89706690

NUT,M8, Cl 8

1шт.

22

80338949

CARRIAGE BOLT

Short Neck, CL 8.8, M10 x 1.5 x 25

1шт.

23

84068986

SUPPORT

(30), Serial Range: -C439

1шт.

23

84801004

SUPPORT

(30), Start Serial: D440

1шт.

24

84078470

PLATE

1шт.

25

86507486

CARRIAGE BOLT,M8 x 1.25 x 20mm, Cl 8.8

1шт.

25

80308761

SCREW,M8 x 25mm

M8 x 25

1шт.

25

86512443

CARRIAGE BOLT,Sht Nk, M8 x 35mm, Cl 8.8, Full Thd

1шт.

26

84607491

PLATE

7шт.

27

84069248

RIVET,Pop, 4.8mm OD x 20.7mm L

RIVET

70шт.

28

84607487

STIFFENER

7шт.

29

86507486

CARRIAGE BOLT,M8 x 1.25 x 20mm, Cl 8.8

2шт.

30

84068687

SCRAPER BLADE

4шт.

WELD ON

1шт.

33

84068936

PLUG

, Serial Range: -C383

1шт.

33

84004713

BUSHING,10.5mm ID x 25mm OD x 18mm L

, Start Serial: D384

1шт.

34

43140

BOLT,Hex, M10 x 1.5 x 30mm, Cl 8.8

2шт.

35

43465

CARRIAGE BOLT,Short NK, M8 x 30, Cl8.8, Full Thd

2шт.

36

120090

BOLT,Hex, M16 x 50mm, Cl 8.8

, Serial Range: -C655

4шт.

36

84053391

CARRIAGE BOLT,Short NK, M12 x 130, Cl8.8

, Start Serial: D656

4шт.

Выбрано товаров: 44