Запчасти Case IH LBX332S (13.10[01]) - PACKER CLUTCH (13) - FEEDER

Схема запчастей Case IH LBX332S - (13.10[01]) - PACKER CLUTCH (13) - FEEDER
2
10
8
14
13
home
4
4
6
5
5
3
7
11
4
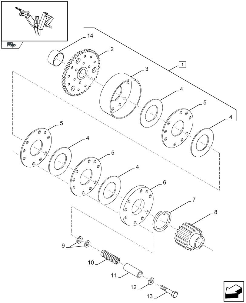
1
12
9
4
5
FIT
1:1
100%

Артикул

Название

Примечание

Количество

1

84045305

CLUTCH

(2-14)

1шт.

2

84800490

DRIVEN SPROCKET

, Serial Range: -C535

1шт.

2

87394095

DRIVEN SPROCKET

, Start Serial: D536

1шт.

3

84041823

FLANGE

1шт.

4

80261798

DISC

4шт.

5

84041824

DISC,97mm ID x 230mm OD x 3.5mm Thk

3шт.

6

84041827

CLUTCH DISC

1шт.

7

84041833

CIRCLIP

1шт.

8

84041818

GEAR

1шт.

9

80140096

WASHER

20.5 MM

1шт.

10

80322270

SPRING

9шт.

11

84041820

BUSHING,12.5mm ID x 17.2mm OD x 114.5mm L

9шт.

12

89832748

WASHER

11 MM

9шт.

13

80331168

SCREW,M10 x 40mm

M10 x 140

9шт.

14

84045306

BUSHING,44.98mm ID x 50.02mm OD x 50mm L

1шт.

Выбрано товаров: 15