Запчасти Case IH LBX421S (12.04[01]) - JACK (12) - MAIN FRAME

Схема запчастей Case IH LBX421S - (12.04[01]) - JACK (12) - MAIN FRAME
3
12
15
8
10
4
6
17
7
20
13
19
14
9
18
1
11
2
5
19
16
FIT
1:1
100%

Артикул

Название

Примечание

Количество

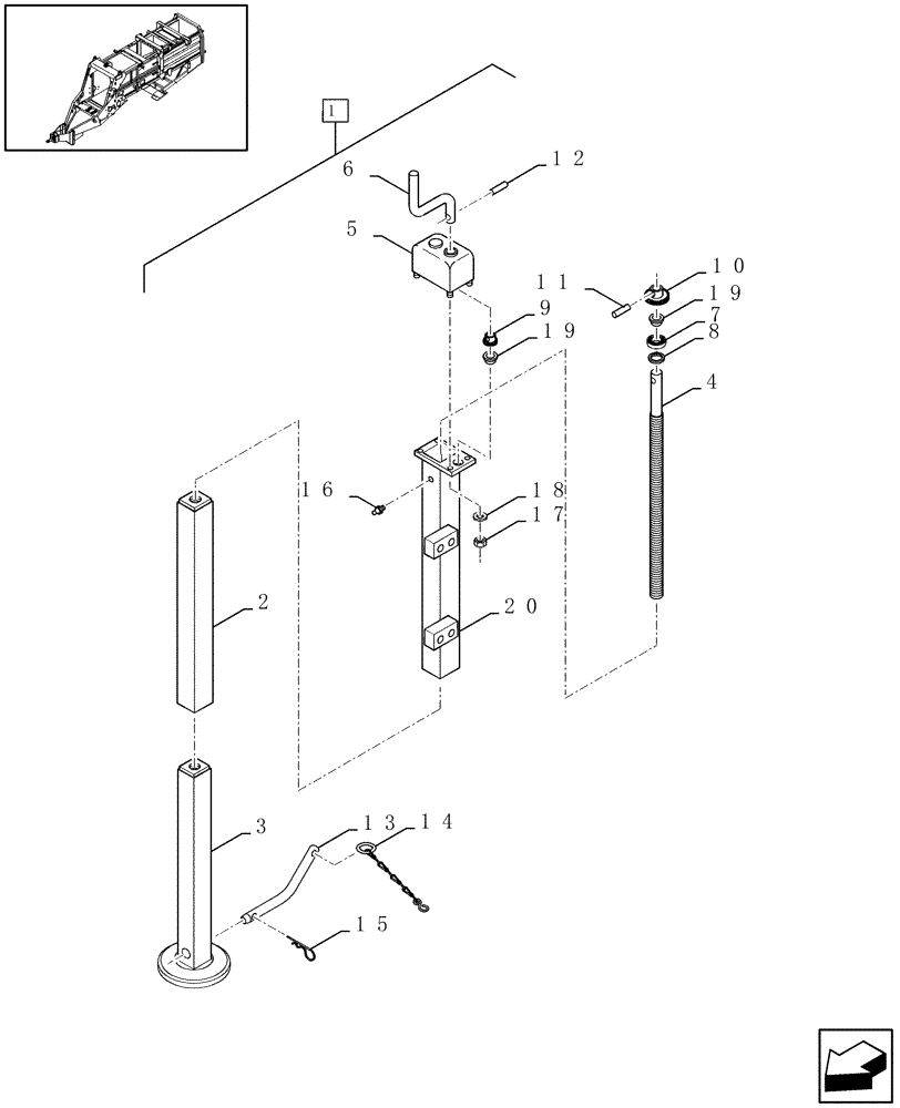
1

84041156

JACK

, Serial Range: (2-20)

1шт.

2

84814120

TUBE

1шт.

3

84814119

TUBE

1шт.

4

84400422

THREADED ROD

1шт.

5

84400423

COVER

1шт.

6

84400424

HANDLE

1шт.

7

84400425

BALL BEARING

1шт.

8

NSS

NOT SOLD SEPARAT

Washer

1шт.

9

84400426

GEAR

Z=14

1шт.

10

84400427

GEAR

Z=32

1шт.

11

80130050

ROLL PIN

1шт.

12

80300871

COTTER PIN

1шт.

13

84400428

PIN

1шт.

14

NSS

NOT SOLD SEPARAT

Chain

1шт.

15

80450300

COTTER PIN

1шт.

16

80412014

LUBE NIPPLE

1шт.

17

80043442

NUT,M8 x 1.25, Cl 8

4шт.

18

80322358

LOCK WASHER

8MM

4шт.

19

84400429

BUSHING

2шт.

20

84814121

TUBE

1шт.

Выбрано товаров: 20