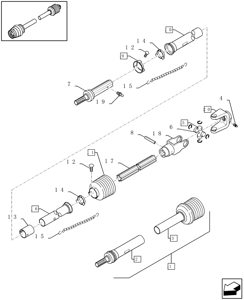
Запчасти Case IH LBX421S (01.04[01]) - POWER TAKE-OFF, REAR (01) - POWER TAKE OFF

Схема запчастей Case IH LBX421S - (01.04[01]) - POWER TAKE-OFF, REAR (01) - POWER TAKE OFF
9
12
11
18
14
1
7
16
14
20
17
4
5
13
2
12
10
3
6
15
15
19
8
FIT
1:1
100%

Артикул

Название

Примечание

Количество

1

84607934

PTO

, Serial Range: (2-20)

1шт.

2

84807035

PTO

Half (7,10)

1шт.

3

84807036

PTO

Half (5,8,11,13,14,16,18,20)

1шт.

4

84037058

LOCK PIN

1шт.

5

80427837

SPIDER

(6)

1шт.

6

150024

LUBE NIPPLE,45 Degree, M8 x 1

2шт.

7

84056800

PROPELLER SHAFT

(19)

1шт.

8

80412360

ROLL PIN

1шт.

9

84807039

PROTECTION CAP

(12)

1шт.

10

84807037

PROTECTING COVER

, Serial Range: (11-15)

1шт.

11

84807040

PROTECTION CAP

(12)

1шт.

12

86585706

SCREW,Phillips Drive, Pan HD, M4 x 10mm, Cl 4.8

1шт.

13

84031199

GUARD

1шт.

14

80411728

RING

2шт.

15

80379650

CHAIN

2шт.

16

84807038

PROTECTING COVER

, Serial Range: (11-15)

1шт.

17

84056799

PROPELLER SHAFT

1шт.

18

80748481

YOKE

1шт.

19

80080722

LUBE NIPPLE

1шт.

20

84037057

YOKE

(4)

1шт.

Выбрано товаров: 20