Запчасти Case IH LBX432R (06.01B[01]) - FUSE PRINT - F480499 (06) - ELECTRICAL SYSTEMS

Схема запчастей Case IH LBX432R - (06.01B[01]) - FUSE PRINT - F480499 (06) - ELECTRICAL SYSTEMS
2
8
5
8
8
k31
6
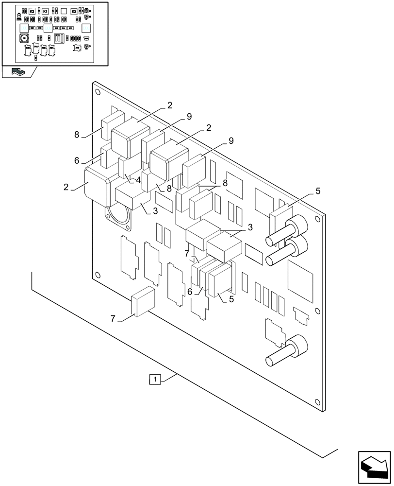
1
k12
7
7
2
k21
6
home
3
4
3
5
2
9
9
FIT
1:1
100%

Артикул

Название

Примечание

Количество

1

87329637

PRINTED CIRCUIT BOAR

(2 to 9), Serial Range: -C567

1шт.

1

87541258

PRINTED CIRCUIT BOAR

, Start Serial: D568

1шт.

2

84000651

RELAY

20/30 Amp

3шт.

3

86509590

RELAY

20 Amp

3шт.

4

87349538

FUSE

75 Amp

1шт.

5

87349541

FUSE

40 Amp

2шт.

6

84429451

FUSE

30 Amp, small

2шт.

7

84807488

FUSE

3 Amp

2шт.

8

84320044

FUSE,5 Amp

3шт.

9

87349540

FUSE

30 Amp

2шт.

Выбрано товаров: 10