Запчасти Case IH LBX432R (06.01B[02]) - FUSE PRINT - D500 (06) - ELECTRICAL SYSTEMS

Схема запчастей Case IH LBX432R - (06.01B[02]) - FUSE PRINT - D500 (06) - ELECTRICAL SYSTEMS
f14
k1
auto
8
f15
batt
k3
8
x9
k11
4
f21
home
f13
9
6
spares
f931
k15
2
override
k14
4
f314
7
f44
10
2
f912
f4
k22
f911
7
f3
f8
8
5
manual
4
6
x500
12
f922
f12
f313
x3
f921
f315
k12
f22
x13
f31
2
k13
f2
gnd
f121
f11
f6
3
9
x4
f1
x8
f914
f5
2
x14
8
x10
5
x7
2
k31
k21
2
3
alt
f122
f312
f7
11
1
k2
9
f311
x11
FIT
1:1
100%

Артикул

Название

Примечание

Количество

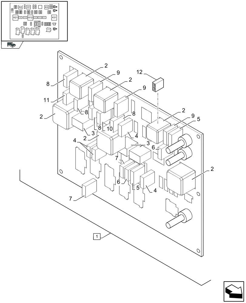
1

87362601

PRINTED CIRCUIT BOAR

(2 to 11), Serial Range: -C567

1шт.

1

87541259

PRINTED CIRCUIT BOAR

(2 to 11), Start Serial: D568

1шт.

2

84000651

RELAY

20/30 Amp

3шт.

3

86509590

RELAY

20 Amp

3шт.

4

87349538

FUSE

75 Amp

1шт.

5

87349541

FUSE

40 Amp

2шт.

6

84429451

FUSE

30 Amp, small

2шт.

7

84807488

FUSE

3 Amp

2шт.

8

84320044

FUSE,5 Amp

3шт.

9

87349540

FUSE

30 Amp

2шт.

10

87349539

FUSE,Lt Blue, 15 Amp

15 Amp

1шт.

11

84807470

FUSE,35A, Micro, Blue - Green

35 Amp

1шт.

12

87521510

CABLE

1шт.

Выбрано товаров: 0