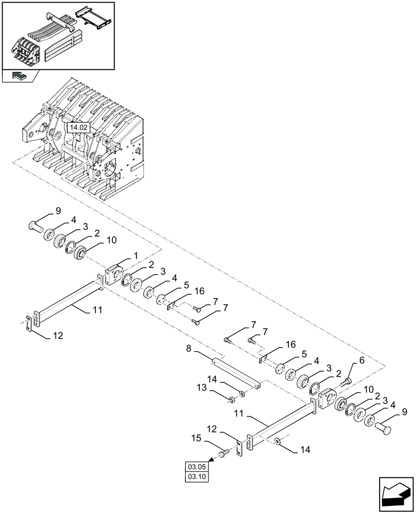
Запчасти Case IH LBX432S (14.01[01]) - PLUNGER, RODS (14) - BALE CHAMBER

Схема запчастей Case IH LBX432S - (14.01[01]) - PLUNGER, RODS (14) - BALE CHAMBER
11
12
14.02
2
10
14
9
7
7
6
3
10
4
5
7
16
2
8
03.05
03.10
14
16
4
4
3
5
2
4
11
7
9
3
home
2
12
13
15
1
3
FIT
1:1
100%

Артикул

Название

Примечание

Количество

1

84074870

SUPPORT,100 mm ID x 52 mm

2шт.

FOR LBX322S, LBX322P, LBX322R, LBX332S, LBX332P, LBX332R ONLY

1шт.

1

84074868

BEARING HOUSING,120 mm ID x 65 mm

2шт.

FOR LBX422S, LBX422R, LBX432S, LBX432R ONLY

1шт.

2

80370026

CIRCLIP

4шт.

FOR LBX322S, LBX322P, LBX322R, LBX332S, LBX332P, LBX332R ONLY

1шт.

2

80412270

SNAP RING

4шт.

FOR LBX422S, LBX422R, LBX432S, LBX432R ONLY

1шт.

3

84000584

SPACER,55mm ID x 85mm OD x 16mm L

4шт.

FOR LBX322S, LBX322P, LBX322R, LBX332S, LBX332P, LBX332R ONLY

1шт.

3

89838119

WASHER, THRUST

4шт.

FOR LBX422S, LBX422R, LBX432S, LBX432R ONLY

1шт.

4

84004409

SEAL,85mm ID x 100mm OD x 9mm Thk

4шт.

FOR LBX322S, LBX322P, LBX322R, LBX332S, LBX332P, LBX332R ONLY

1шт.

4

89838315

GASKET

4шт.

FOR LBX422S, LBX422R, LBX432S, LBX432R ONLY

1шт.

5

84045245

DISC

2шт.

6

84004413

SCREW,M14 x 70mm, Cl 8.8

M14 x 70

4шт.

FOR LBX322S, LBX322P, LBX322R, LBX332S, LBX332P, LBX332R ONLY

1шт.

6

89838120

SCREW

M16 x 70

4шт.

FOR LBX422S, LBX422R, LBX432S, LBX432R ONLY

1шт.

7

80120079

BOLT

M12 x 40

4шт.

8

84000586

CROSSRAIL

1шт.

FOR LBX322S, LBX322P, LBX322R, LBX332S, LBX332P, LBX332R ONLY

1шт.

8

89838114

ANGLE BAR

1шт.

FOR LBX422S, LBX422R, LBX432S, LBX432R ONLY

1шт.

9

84045246

SHAFT

2шт.

FOR LBX322S, LBX322P, LBX322R, LBX332S, LBX332P, LBX332R ONLY

1шт.

9

84045247

SHAFT

2шт.

FOR LBX422S, LBX422R, LBX432S, LBX432R ONLY

1шт.

10

89516384

BEARING ASSY

2шт.

FOR LBX322S, LBX322P, LBX322R, LBX332S, LBX332P, LBX332R ONLY

1шт.

10

89838113

BEARING ASSY

2шт.

FOR LBX422S, LBX422R, LBX432S, LBX432R ONLY

1шт.

11

84000588

LINK CONROD

, Serial Range: -C595

2шт.

FOR LBX322S, LBX322P, LBX322R, LBX332S, LBX332P, LBX332R ONLY

1шт.

11

87664702

LINK CONROD

, Start Serial: D596

2шт.

FOR LBX322S, LBX322P, LBX322R, LBX332S, LBX332P, LBX332R ONLY

1шт.

11

89838110

LINK CONROD

, Serial Range: -C595

2шт.

FOR LBX422S, LBX422R, LBX432S, LBX432R ONLY

1шт.

11

87664701

LINK CONROD

, Start Serial: D596

2шт.

FOR LBX422S, LBX422R, LBX432S, LBX432R ONLY

1шт.

12

84000581

ADJUSTING PLATE

1шт.

FOR LBX322S, LBX322P, LBX322R, LBX332S, LBX332P, LBX332R ONLY

1шт.

12

89838109

ADJUSTING PLATE

1шт.

FOR LBX422S, LBX422R, LBX432S, LBX432R ONLY

1шт.

13

100019

NUT,M14, Cl 8

4шт.

FOR LBX322S, LBX322P, LBX322R, LBX332S, LBX332P, LBX332R ONLY

1шт.

13

9505933

NUT,M16 x 2, Cl 12

4шт.

FOR LBX422S, LBX422R, LBX432S, LBX432R ONLY

1шт.

14

84011662

WASHER,14mm ID x 32mm OD x 3.5mm Thk

14 MM

8шт.

FOR LBX322S, LBX322P, LBX322R, LBX332S, LBX332P, LBX332R ONLY

1шт.

14

80394631

WASHER

17 MM

8шт.

FOR LBX422S, LBX422R, LBX432S, LBX432R ONLY

1шт.

15

440419

BOLT,Hex, M14 x 2 x 55mm, Cl 8.8, Full Thd

4шт.

FOR LBX322S, LBX322P, LBX322R, LBX332S, LBX332P, LBX332R ONLY

1шт.

15

80412398

SCREW

M16 x 50

4шт.

FOR LBX422S, LBX422R, LBX432S, LBX432R ONLY

1шт.

16

84045248

LOCKING PLATE

2шт.

Выбрано товаров: 59