Запчасти Case IH 130 (28) - PICKUP LIFT CONTROL

Схема запчастей Case IH 130 - (28) - PICKUP LIFT CONTROL
FIT
1:1
100%

Артикул

Название

Примечание

Количество

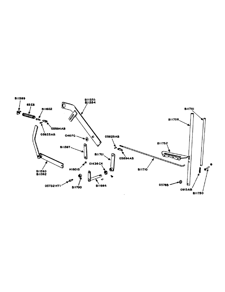
B11554

ARM - pickup pivot, R.H.

1шт.

3/8" x 1-1/4" N.F. flat hd. mach. screw w/dbl. hex. nut

1шт.

3/16" x 1-1/2" cotter pin

1шт.

5/8" plain washer

1шт.

B11555

ARM - pickup pivot, L.H.

1шт.

3/8" x 1-1/4" N.F. mach. screw w/dbl. hex. nut

1шт.

3/16" x 1-1/2" cotter pin

1шт.

5/8" plain washer

1шт.

B11592

ARM - R.H., pickup lift

1шт.

1/4" 28 thrd. Lincoln fitting #5010

1шт.

B11593

ARM - L.H., pickup lift

1шт.

1/4" 28 thrd. Lincoln fitting #5010

1шт.

B11597

STRAP - pickup lift

2шт.

9/16" x 1-1/4" N.F. hex. hd. cap screw w/hex nut and lockwasher

2шт.

9/16" plain washer

2шт.

B11599

ANGLE - pickup lift spring

2шт.

1/2" x 1-3/4" N.F. hex. hd. cap screw w/hex. nut and lockwasher

2шт.

B11602

EYEBOLT - lift arm spring

2шт.

B11696

SHAFT - pickup lift roller

1шт.

B11700

ROLLER - lift

1шт.

B11701

ARM - lift

1шт.

1/4" x 2" N.F. hex. hd. cap screw w/hex. nut and lockwasher

1шт.

#91 Woodruff key

1шт.

B11706

HANDLE - lift

1шт.

B11710

ROD - lift

1шт.

1/8" x 1" cotter pin

1шт.

3/8" plain washer

1шт.

B11750

PIN - catch, pickup handle

1шт.

1/8" x 1-1/2" cotter pin

2шт.

5/16" plain washer

2шт.

B11752

BRACKET - pickup lift handle

1шт.

3/8" x 1" N.F. hex. hd. cap screw w/hex. nut and lockwasher

2шт.

B11792

ROD - catch, lift handle

1шт.

O915AB

SPRING - catch, lift handle

1шт.

O5894AB

YOKE

CLEVIS - lift rod

1шт.

O5894AB

YOKE

CLEVIS - lift arm spring eyebolt

2шт.

O5925AB

X

PIN - lift rod clevis

1шт.

O5925AB

X

PIN - lift arm spring eyebolt clevis

2шт.

3/32" x 3/4" cotter pin

2шт.

O578B

X

WASHER - (1-1/4" O.D. x 21/32" I.D. #16 ga.) pickup lift lever

1шт.

O1436CK

COLLAR - pickup lift shaft

1шт.

3/8" x 1/2" N.C. Allen hd. C.P. set screw

1шт.

65EB

SPRING - pickup lift

2шт.

O46FG

WASHER - (1-3/4" O.D. x 1-1/32" I.D. #16 ga.) lift arm

2шт.

H1801S

SPACER - pickup lift strap

2шт.

O5732HT1

BOLT - shoulder, lift roller

1шт.

1/2" N.C. hex. nut

1шт.

1/2" std. lockwasher

1шт.

Выбрано товаров: 48