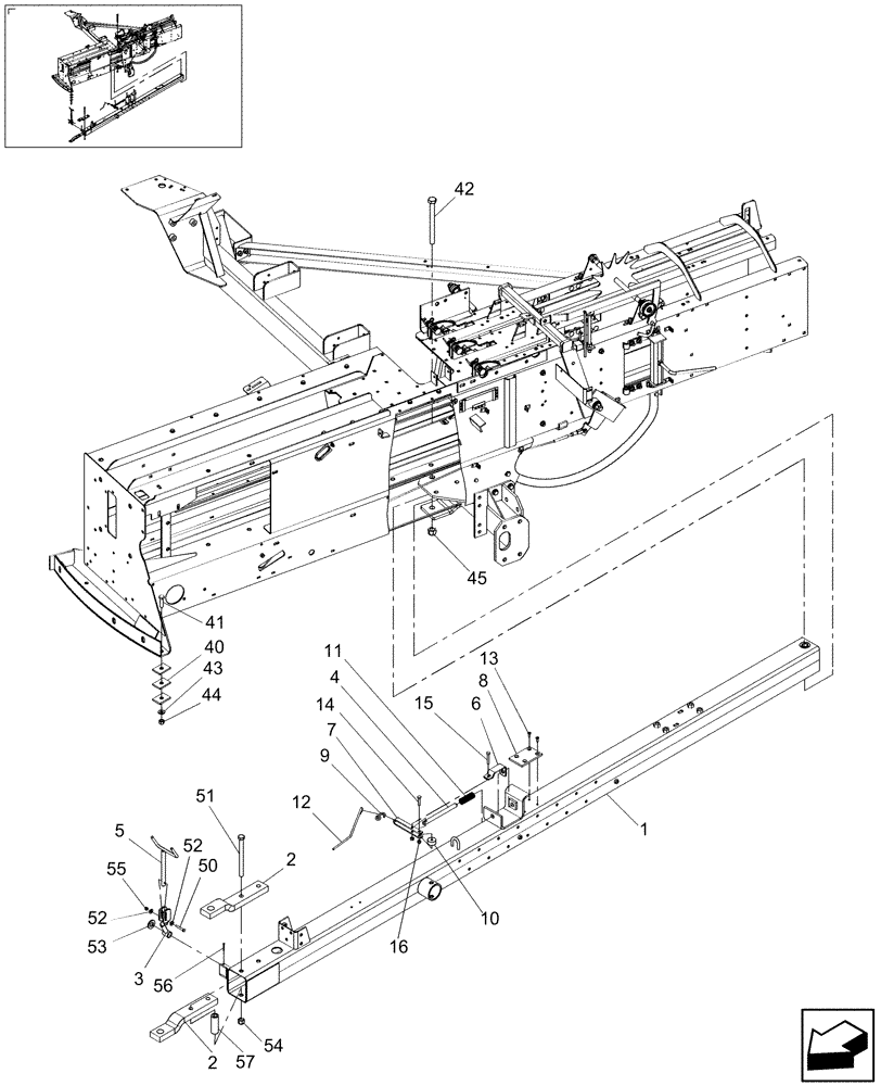
Запчасти Case IH SB531 (39.110.01[1]) - TONGUE, SB531 (39) - FRAMES AND BALLASTING

Схема запчастей Case IH SB531 - (39.110.01[1]) - TONGUE, SB531 (39) - FRAMES AND BALLASTING
51
10
12
42
54
8
3
2
56
4
50
13
52
11
16
45
5
57
44
52
9
15
40
43
2
14
41
53
6
7
1
55
FIT
1:1
100%

Артикул

Название

Примечание

Количество

1

87018873

TONGUE

1шт.

2

86626091

BAR

2шт.

North America

1шт.

2

87480648

HITCH

1шт.

Australia

1шт.

3

87718270

SUPPORT

1шт.

4

86629458

PIN

1шт.

5

449921

SUPPORT

PTO

1шт.

6

226244

BRACKET

1шт.

7

226245

LATCH

1шт.

8

785127

PAD

1шт.

9

86900721

SPRING

1шт.

10

228127

SPACER,8.73mm ID x 34.92mm OD x 15.88mm L

1шт.

11

86629495

SPRING

1шт.

12

50273

ROPE

14'

1шт.

13

88961

HEX SOC SCREW,Flat Csk Hd, 1/4" - 20 x 3/4"

4шт.

14

88275

BOLT,Hex, 5/16" - 18 x 1 1/2", Gr 5

1шт.

15

9636711

BOLT,Hex, 5/16 - 18" x 2", Gr 5

1шт.

16

86629544

NUT,5/16” – 18, GR B

2шт.

40

86547944

CLIP

3шт.

41

9707516

BOLT,1/2"-13 x 1-3/4", Cl 5

1шт.

42

381523

BOLT,Hex, M20 x 2.5 x 210mm OAL, Cl 8.8

1шт.

43

86513238

LOCK WASHER,.515” ID x 1.070” OD x .120” TK

1шт.

44

280431

NUT,1/2"-13, G5

1шт.

45

380424

NUT,M20 x 2.5, Cl 8

1шт.

50

280164

BOLT,Hex, 1/4" - 20 x 1 3/4", Gr 5

1шт.

51

86508585

BOLT,Hex, M16 x 2 x 190mm, Cl 8.8

2шт.

52

80701

WASHER,0.31" ID x 0.73" OD x 0.07" Thk

2шт.

53

87381

WASHER,0.81" ID x 1.47" OD x 0.13" Thk

1шт.

54

86000441

NUT,M16 x 2.0, Cl 8

2шт.

55

20356

NUT,1/4"-20, GB

1шт.

56

130005

COTTER PIN,M3.2 x 32

1шт.

57

9802046

SPACER

2шт.

Выбрано товаров: 33