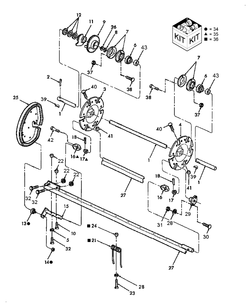
Запчасти Case IH SB531 (60.220.08) - PICKUP SHAFT & PICKUP FINGER (60) - PRODUCT FEEDING

Схема запчастей Case IH SB531 - (60.220.08) - PICKUP SHAFT & PICKUP FINGER (60) - PRODUCT FEEDING
FIT
1:1
100%

Артикул

Название

Примечание

Количество

1

9801511

DRIVEN SHAFT

Reel Driven, SB531

1шт.

1

9801468

CONTROL SHAFT

Reel Driven, SB541

1шт.

2

87399

COTTER PIN,1/2 x 3 Bolt

1шт.

3

86642120

DISC

Finger, RH, SB531

1шт.

3

86977216

DISC

Finger, RH, SB541

1шт.

4

86642122

DISC

Finger, LH, SB531

1шт.

4

86977215

DISC

Finger, LH, SB541

1шт.

5

252687

WASHER,0.34" ID x 0.75" OD x 0.09" Thk

55шт.

5

252687

WASHER,0.34" ID x 0.75" OD x 0.09" Thk

78шт.

6

45882

BALL BEARING,28.57mm ID x 62mm OD x 18mm W

2шт.

7

86548970

FLANGED BEARING

2шт.

8

80370008

SNAP RING,M50, Ext

1шт.

9

86641546

DRIVING SPROCKET

33T, Includes Ref. 10

1шт.

10

9636711

BOLT,Hex, 5/16 - 18" x 2", Gr 5

SB531

5шт.

10

9636711

BOLT,Hex, 5/16 - 18" x 2", Gr 5

SB541

6шт.

11

86641547

HUB

1шт.

12

140108

WASHER,31mm ID x 37mm OD x 1mm Thk

M1 Thk

4/ARшт.

13

40714

CAM FOLLOWER,31.8 mm OD x 15.9 mm

Cam Roller, SB531

5шт.

13

40714

CAM FOLLOWER,31.8 mm OD x 15.9 mm

Cam Roller, SB541

6шт.

Not Illustrated

1шт.

14

80855

NUT,Hex, 3/8" - 24

5шт.

14

80855

NUT,Hex, 3/8" - 24

6шт.

15

86641591

SHAFT,26.99mm OD x 155mm L

Use W/ Ref. 27, SB531

5шт.

15

86641591

SHAFT,26.99mm OD x 155mm L

Use W/ Ref. 27, SB541

6шт.

16

54695

BEARING HOUSING

SB531

5шт.

16

54695

BEARING HOUSING

SB541

6шт.

17

86641856

BEARING,27.1 mm ID x 47 mm OD x 25.4 mm

SB531

5шт.

17

86641856

BEARING,27.1 mm ID x 47 mm OD x 25.4 mm

SB541

6шт.

18

136521

COTTER PIN,5.7mm OD x 44.45mm L

Hardened, 1/4" x 1-3/4", SB531

5шт.

18

136521

COTTER PIN,5.7mm OD x 44.45mm L

Hardened, 1/4" x 1-3/4", SB541

6шт.

19

86632007

FINGER

6шт.

Not Illustrated

1шт.

20

280736

NUT,5/16"-18, GC

6шт.

Not Illustrated

1шт.

21

86641710

FINGER

Tine, Set of 6, SB531, Yellow, Incl 5, 22, 23

55шт.

21

84474295

KIT

Tine, Set of 6, SB531, Dk. Gray, Incl 5, 22, 23

55шт.

21

86641710

FINGER

Tine, Set of 6, SB541, Yellow, Incl 5, 22, 23

78шт.

21

84474295

KIT

Tine, Set of 6, SB531, Dk. Gray, Incl 5, 22, 23

78шт.

22

86629544

NUT,5/16” – 18, GR B

SB531

70шт.

22

86629544

NUT,5/16” – 18, GR B

SB541

96шт.

23

9635884

BOLT,Hex, 5/16" - 18 1", Full Thd, Gr 5

SB531

52шт.

23

9635884

BOLT,Hex, 5/16" - 18 1", Full Thd, Gr 5

SB541

74шт.

24

100037

LOCK NUT,M10 x 1.5, Cl 8

44шт.

25

86640846

CAM

1шт.

26

67517

WASHER

44шт.

27

86641592

ANGLE BAR

SB531

5шт.

27

86516592

ANGLE BAR

SB541

6шт.

28

140045

BELLEVILLE WASHER,M10 Bolt Size x 22mm OD x 1.6mm Thk

SB531

32шт.

28

140045

BELLEVILLE WASHER,M10 Bolt Size x 22mm OD x 1.6mm Thk

SB541

36шт.

29

638025

FLANGE

4шт.

30

88682

CARRIAGE BOLT,Short Nk, 3/8"-16 x 1", Gr 5

SB531

8шт.

30

88682

CARRIAGE BOLT,Short Nk, 3/8"-16 x 1", Gr 5

SB541

12шт.

31

9628503

NUT,3/8"-16, G5

24шт.

32

9707515

BOLT,Hex, 5/16 - 18" x 1 3/4", Gr 5

18шт.

33

280736

NUT,5/16"-18, GC

4шт.

34

87012134

BEARING ASSY

Pickup Cam Bearing, Incl (2) Ref. 13 & 14

1шт.

35

87012135

BEARING ASSY

Pickup Bearing & Carrier, Incl (2) Ref. 16 & 17 plus Hardware

1шт.

36

87012136

REPAIR KIT

Pickup Tine, Includes: Ref. 19 & 20

1шт.

37

140045

BELLEVILLE WASHER,M10 Bolt Size x 22mm OD x 1.6mm Thk

9шт.

38

43140

BOLT,Hex, M10 x 1.5 x 30mm, Cl 8.8

9шт.

39

84361

WOODRUFF KEY,#21, 1/4" x 1 1/4"

1шт.

40

87936

BOLT,Hex, 3/8" - 16 x 2 1/2", Gr 5

2шт.

41

88902

NUT,3/8"-16

2шт.

42

280430

CARRIAGE BOLT,Sq Nk, 3/8" - 16 x 3/4", Gr 5, Full Thd

10шт.

43

84168980

KIT

Pickup Tine Kit, Incl: (6) of Ref. 5, 21, 22 & 23

1шт.

Выбрано товаров: 65