Запчасти Case IH SB541C (90.105.21) - SHIELDS, FRONT, SB541 NORTH AMERICA (90) - PLATFORM, CAB, BODYWORK AND DECALS

Схема запчастей Case IH SB541C - (90.105.21) - SHIELDS, FRONT, SB541 NORTH AMERICA (90) - PLATFORM, CAB, BODYWORK AND DECALS
51
39
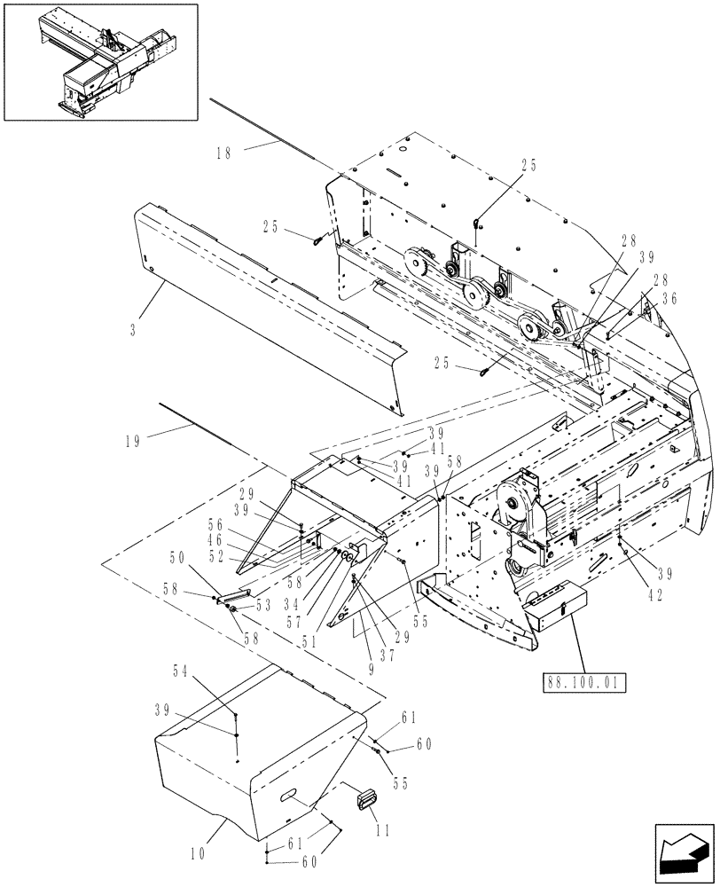
54
37
39
3
34
10
39
60
29
28
58
53
39
41
57
39
18
52
61
25
25
58
61
28
29
25
88.100.01
58
41
60
55
50
36
42
9
11
58
19
55
39
39
56
46
FIT
1:1
100%

Артикул

Название

Примечание

Количество

3

87663976

DOOR

Includes: Ref. 4

1шт.

4

86626958

WARNING DECAL

English

1шт.

Not Illustrated. Refer to Decal Figures for Decal Placement.

1шт.

9

87708956

FILLER

1шт.

10

87708950

HOOD

Includes: Decals

1шт.

Not Illustrated. Refer to Decal Figures for Decal Placement.

1шт.

11

3962571

HANDLE

1шт.

18

9604431

HINGE

1шт.

19

9604432

SPINDLE

1шт.

25

264552

FASTENER

3шт.

28

280641

BOLT,Hex, 1/4" - 20 x 5/8", Gr 5

6шт.

29

87872

BOLT,Hex, 5/16" - 18 x 3/4", Gr 5

6шт.

34

80664

WASHER,0.38" ID x 0.88" OD x 0.08" Thk

1шт.

36

87361

WASHER,0.28" ID x 0.62" OD x 0.07" Thk

3шт.

37

87362

WASHER,5/16" SAE

3шт.

39

322358

BELLEVILLE WASHER,M8 Bolt Size x 18mm OD x 1.4mm Thk

17шт.

41

7770

NUT,Hex, 1/4 - 20, Cl 5

6шт.

42

9635082

NUT,5/16" - 18, Gr 5

3шт.

46

86629544

NUT,5/16” – 18, GR B

4шт.

50

87749605

LATCH

1шт.

51

87749603

SUPPORT

1шт.

52

87749606

BRACKET

1шт.

53

87494304

SPACER

1шт.

54

86977692

SELF-TAP SCREW,Hex Wash Hd, 1/4" x 1 1/2"

1шт.

55

280350

BOLT

2шт.

56

86521553

BOLT,Hex, 5/16" - 18 x 1", Gr 5

1шт.

57

322

WASHER,8.73mm ID x 42.07mm OD x 3.43mm Thk

2шт.

58

86521605

FLANGE NUT,5/16"-18, Cl 5

3шт.

60

284422

BUMPER

6шт.

61

9824840

WASHER,4.3mm ID x 9mm OD x 0.8mm Thk

6шт.

Выбрано товаров: 30