Запчасти Case IH SB551 (31.201.02) - POWER TAKE OFF, FRONT (31) - IMPLEMENT POWER TAKE OFF

Схема запчастей Case IH SB551 - (31.201.02) - POWER TAKE OFF, FRONT (31) - IMPLEMENT POWER TAKE OFF
12
10
3
6
3
9
-
12
1
15
7
13
14
17
5
2
4
16
8
11
4
12
FIT
1:1
100%

Артикул

Название

Примечание

Количество

1

0C

ORDER COMPONENTS

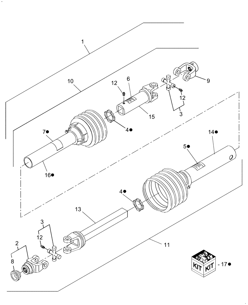
PTO, Front, Includes: Ref. 10 & 11

1шт.

87399499

1шт.

2

86505372

YOKE

Front

1шт.

3

86520873

BEARING ASSY

Cross & Bearing

2шт.

4

87050379

REPAIR KIT

Guard Bearing

2шт.

5

849471

DANGER DECAL

English, Included with Ref. 1

1шт.

5

849482

DANGER DECAL

French

1шт.

Locate Decal Adjacent to English Decal Where Possible. Install Decal Over English Decal Where Necessary.

1шт.

5

9801260

DANGER DECAL

Spanish

1шт.

Locate Decal Adjacent to English Decal Where Possible. Install Decal Over English Decal Where Necessary.

1шт.

6

849472

DANGER DECAL

English, Included with Ref. 1

1шт.

6

849483

DANGER DECAL

French

1шт.

Locate Decal Adjacent to English Decal Where Possible. Install Decal Over English Decal Where Necessary.

1шт.

6

9801256

DANGER DECAL

Spanish

1шт.

Locate Decal Adjacent to English Decal Where Possible. Install Decal Over English Decal Where Necessary.

1шт.

7

87041061

WARNING DECAL

English

1шт.

7

87042013

DECAL

WARNING FRENCH

1шт.

Locate Decal Adjacent to English Decal Where Possible. Install Decal Over English Decal Where Necessary.

1шт.

7

87042014

DECAL

WARNING Spanish

1шт.

8

86534533

REPAIR KIT

Auto-Lok Repair

1шт.

Locate Decal Adjacent to English Decal Where Possible. Install Decal Over English Decal Where Necessary.

1шт.

9

84131753

YOKE

Rear

1шт.

10

87757073

REAR PTO ASSY

Half

1шт.

11

87757072

FRONT PTO ASSY

Half

1шт.

12

80714

LUBE NIPPLE,1/4"-28 NPT x .54" lg

3шт.

13

NSS

NOT SOLD SEPARAT

Yoke & Tube, Front Half

1шт.

14

NSS

NOT SOLD SEPARAT

Guard, Front Half

1шт.

15

NSS

NOT SOLD SEPARAT

Yoke & Tube, Rear Half

1шт.

16

NSS

NOT SOLD SEPARAT

Guard, Rear Half

1шт.

17

84180547

GUARD

1шт.

Выбрано товаров: 30