Запчасти Case IH SB551 (31.201.04) - POWER TAKE OFF POWER PIVOT (31) - IMPLEMENT POWER TAKE OFF

Схема запчастей Case IH SB551 - (31.201.04) - POWER TAKE OFF POWER PIVOT (31) - IMPLEMENT POWER TAKE OFF
7
2
5
3
1
8
10
11
31.201.01
6
13
14
12
4
9
FIT
1:1
100%

Артикул

Название

Примечание

Количество

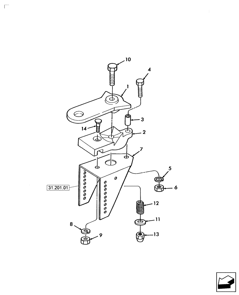
1

86629431

ARM

Pivot

1шт.

2

86629430

SUPPORT

Ratchet

1шт.

3

579577

SPACER

1шт.

4

9637417

BOLT,Hex, 1/2" - 13 x 3 1/2", Gr 5

1шт.

5

80679

LOCK WASHER,1/20.507 CST ZND

1шт.

6

280431

NUT,1/2"-13, G5

1шт.

7

86629408

SUPPORT

1шт.

8

80680

LOCK WASHER,3/8 0.381 CST ZND

1шт.

9

9628503

NUT,3/8"-16, G5

1шт.

10

280316

BOLT,Hex, 3/4" - 10 x 7", Gr 5

1шт.

11

86511191

WASHER,0.81" ID x 2" OD x 0.15" Thk

1шт.

12

115150

SPRING

1шт.

13

280375

NUT,3/4"-10, GC

1шт.

14

280534

CARRIAGE BOLT,#3, 3/8" - 16 x 2", Gr 5

1шт.

Выбрано товаров: 14