Запчасти Case IH SB551 (60.220.04) - FEEDER FINGER DRIVE (60) - PRODUCT FEEDING

Схема запчастей Case IH SB551 - (60.220.04) - FEEDER FINGER DRIVE (60) - PRODUCT FEEDING
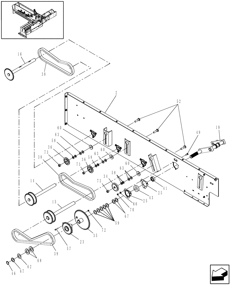
60
58
34
39
57
59
67
73
36
2
58
52
23
15
63
43
63
46
72
35
25
16
36
38
73
25
70
63
41
67
38
60
14
68
18
66
73
60
62
49
58
FIT
1:1
100%

Артикул

Название

Примечание

Количество

2

87741343

STEEL PLATE

Front

1шт.

14

9807866

SHAFT

Center, 28T / 28T

1шт.

15

86526406

SHAFT

LH, 23T / 28T

1шт.

16

9807868

SHAFT

RH, 28T

1шт.

18

9801475

LINK CONROD

1шт.

23

9822717

ARM

1шт.

25

86620026

FLANGED BEARING

2шт.

34

511265

SPROCKET

Idler, 15T, #60 Chain

1шт.

35

9822718

DRIVEN SPROCKET

39T, Includes Ref. 80

1шт.

36

103244

SPROCKET

17T

1шт.

38

848756

CHAIN

#R606 Riveted Type, 80 Total Pitches, 5/8" Pitch Includes: Ref. 74 & 75

1шт.

39

9847046

CHAIN

#60H Riveted Type, 84 Total Pitches, 3/4" Pitch, Includes: Ref. 76 & 77

1шт.

41

47067

RETAINER COLLAR,34.92mm ID x 56.33mm OD x 17.46mm Thk

1шт.

43

47066

BALL BEARING,35mm ID x 72mm OD x 19mm W

1шт.

46

9671424

SNAP RING,#137, Ext

1шт.

49

88682

CARRIAGE BOLT,Short Nk, 3/8"-16 x 1", Gr 5

3шт.

52

280466

CARRIAGE BOLT,Short Sq Nk, 5/8" - 11 x 2 1/2", Gr 5

2шт.

57

46402

SHEAR BOLT

3шт.

58

49637

WASHER,16.5mm ID x 30mm OD x 2.99mm Thk

4/ARшт.

59

58630

WASHER,.0299" Thk

1шт.

60

604937

WASHER,16.7mm ID x 52.4mm OD

3шт.

62

130357

WASHER,35.3mm ID x 60.3mm OD x 1.52 Thk

1шт.

63

87365

WASHER,0.66" ID x 1.31" OD x 0.1" Thk

4/ARшт.

66

140045

BELLEVILLE WASHER,M10 Bolt Size x 22mm OD x 1.6mm Thk

3шт.

67

9800957

WASHER,35.81mm ID x 50.8mm OD x 1.52mm Thk

3/ARшт.

68

36732

WASHER

1шт.

70

9628503

NUT,3/8"-16, G5

3шт.

72

86629544

NUT,5/16” – 18, GR B

4шт.

73

19670

NUT,5/8"-11, GB

2шт.

74

25194

CONNECTING LINK

Spring Clip

1шт.

Not Illustrated

1шт.

75

25805

LINK CHAIN

Regular

79шт.

Not Illustrated

1шт.

76

785210

LINK,19.05mm Pitch

Spring Clip

1шт.

Not Illustrated

1шт.

77

187609

CONNECTING LINK

Regular

83шт.

Not Illustrated

1шт.

Выбрано товаров: 37