Запчасти Case IH SBX530 (008) - POWER TAKE OFF POWER PIVOT (31) - IMPLEMENT POWER TAKE OFF

Схема запчастей Case IH SBX530 - (008) - POWER TAKE OFF POWER PIVOT (31) - IMPLEMENT POWER TAKE OFF
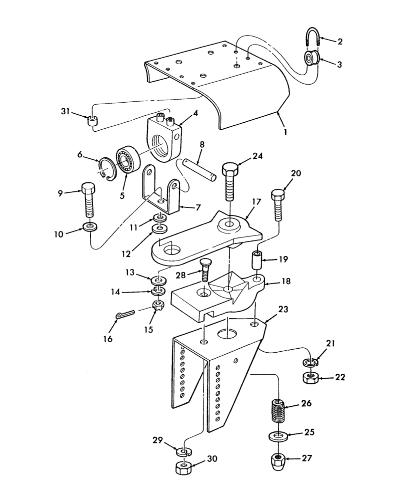
26
3
25
9
22
2
16
1
17
4
23
15
20
30
27
24
14
29
18
5
7
28
8
10
21
13
6
11
19
12
31
FIT
1:1
100%

Артикул

Название

Примечание

Количество

1

86626039

BEARING COVER

Bearing, Tipping

1шт.

614-10020

BOLT,Hex, M10 x 1.5 x 20mm, Cl 8.8, Full Thd

SBX520

2шт.

814-10040

BOLT,Hex, M10 x 1.5 x 40mm, Cl 8.8

SBX530 & SBX540

2шт.

140045

BELLEVILLE WASHER,M10 Bolt Size x 22mm OD x 1.6mm Thk

2шт.

2

28114

U-BOLT

#10-24 x 1-15/16", Twine Guide

1шт.

322357

BELLEVILLE WASHER,M6 Bolt Size x 14mm OD x 1.3mm Thk

2шт.

225-14110

NUT,#10-24

2шт.

3

86543545

GUIDE

Twine

1шт.

4

86629487

BEARING ASSY,34.99mm ID

Includes: Ref. 5 & 6

1шт.

5

9808112

BALL BEARING,34.99mm ID x 71.88mm OD x 25mm W

1шт.

6

86577949

SNAP RING,3.156", Int, #315

1шт.

7

86626042

YOKE

1шт.

8

29851

PIN,15.87mm OD x 128.8mm L

1шт.

495-21019

WASHER,#8

1шт.

9

573958

BOLT

Screw, Cap, HH, Drilled, G5, 3/4"-16 x 2-1/2"

1шт.

10

516161

WASHER

25/32" I.D. x 2-3/8" O.D. x 1/4" Thick

1шт.

11

86640860

BUSHING

Spacer

1шт.

12

187426

SHIM,.015" Thk

1шт.

13

578092

WASHER,19.4mm ID x 47.6mm OD x 3.43mm Thk

3/4", Hardened

1шт.

14

492-11075

LOCK WASHER,3/4"

1шт.

15

425-1312

SLOTTED NUT,3/4"-16, G5

1шт.

16

86013355

COTTER PIN

Heat Treated, Plated, 3/16" x 1-1/2"

1шт.

17

86629431

ARM

Pivot

1шт.

18

86629430

SUPPORT

Ratchet

1шт.

19

579577

SPACER

1шт.

20

413-856

BOLT,Hex, 1/2" - 13 x 3-1/2", Gr 5

1шт.

21

80679

LOCK WASHER,1/20.507 CST ZND

1шт.

22

425-108

NUT,1/2" - 13, Gr 5

1шт.

23

86629408

SUPPORT

1шт.

614-12030

BOLT,Hex, M12 x 1.75 x 30mm, Cl 8.8, Full Thd

4шт.

86513238

LOCK WASHER,.515” ID x 1.070” OD x .120” TK

Belleville, 1/2"

4шт.

24

413-12112

BOLT,Hex, 3/4" - 10 x 7", Gr 5

1шт.

25

495-21081

WASHER,3/4"

1шт.

26

788355

SPRING

SBX520

1шт.

26

115150

SPRING

SBX530 & SBX540

1шт.

27

232-41412

LOCK NUT,3/4"-10, GC

1шт.

28

280534

CARRIAGE BOLT,#3, 3/8" - 16 x 2", Gr 5

1шт.

29

492-11038

LOCK WASHER,3/8"

1шт.

30

425-106

NUT,3/8"-16, Cl 5

1шт.

31

167444

SPACER

SBX530 & SBX540

2шт.

Выбрано товаров: 40