Запчасти Case IH SBX530 (062) - BALE CHAMBER EXTENSION (62) - PRESSING - BALE FORMATION

Схема запчастей Case IH SBX530 - (062) - BALE CHAMBER EXTENSION (62) - PRESSING - BALE FORMATION
13
3
8
13
10
1
9
2
12
11
14
5
14
4
12
6
6
9
7
6
FIT
1:1
100%

Артикул

Название

Примечание

Количество

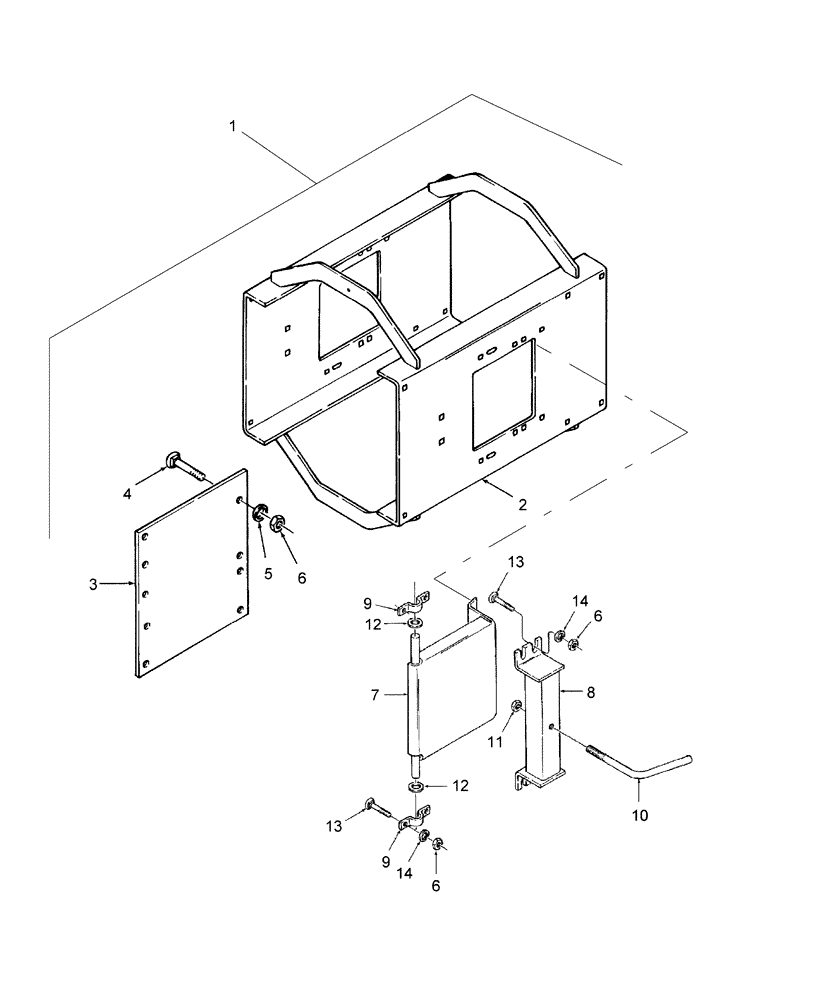
1

NSS

NOT SOLD SEPARAT

Kit, Bale Chamber Extension {86628210}

1шт.

Order from Wholegoods

1шт.

2

86630795

BRACE

Bale Chamber Extension

1шт.

3

86630797

SHEET

1шт.

4

434-616

CARRIAGE BOLT,Sht Sq Nk, 3/8" - 16 x 1", Gr 5

18шт.

5

492-11038

LOCK WASHER,3/8"

18шт.

6

425-106

NUT,3/8"-16, Cl 5

34шт.

7

86630801

DOOR ASSY.

2шт.

8

86630799

SUPPORT

2шт.

9

86630803

BRACKET

Hinge

4шт.

10

849347

HANDLE

2шт.

11

832-46412

NUT,M12 x 1.75, Cl 8

2шт.

12

244379

WASHER,13.49mm ID x 19.05mm OD x 2.67mm Thk

2шт.

13

433-620

CARRIAGE BOLT,Sq Nk, 3/8" - 16 x 1 1/4", Gr 5

16шт.

14

140045

BELLEVILLE WASHER,M10 Bolt Size x 22mm OD x 1.6mm Thk

16шт.

Выбрано товаров: 15