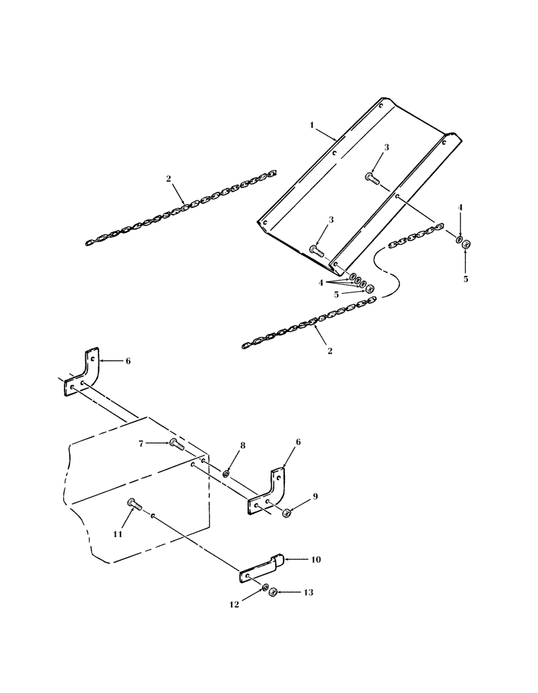
Запчасти Case IH SBX530 (072) - BALE CHUTE, AUSTRALIA (70) - EJECTION

Схема запчастей Case IH SBX530 - (072) - BALE CHUTE, AUSTRALIA (70) - EJECTION
11
5
7
4
6
12
1
5
13
6
3
10
3
9
2
2
4
8
FIT
1:1
100%

Артикул

Название

Примечание

Количество

1

86630424

CHUTE ASSY.

Bale, 37" Long

1шт.

2

196348

CHAIN,823.91mm L

2шт.

3

614-10030

BOLT,Hex, M10 x 1.5 x 30mm, Cl 8.8, Full Thd

2шт.

4

495-21044

WASHER,3/8"

8шт.

5

832-46410

NUT,M10 x 1.5, Cl 8

4шт.

6

86630682

SUPPORT

2шт.

7

811-10030

CARRIAGE BOLT,Sht Sq Nk, M10 x 1.5 x 30mm, Cl 8.8

6шт.

8

140045

BELLEVILLE WASHER,M10 Bolt Size x 22mm OD x 1.6mm Thk

4шт.

9

825-1410

NUT,M10, Cl 8

4шт.

10

9804884

LATCH

1шт.

11

811-8020

CARRIAGE BOLT,Sht Sq Nk, M8 x 1.25 x 20mm, Cl 8.8

1шт.

12

492-11031

LOCK WASHER,5/16"

1шт.

13

825-1408

NUT,M8, Cl 8

1шт.

Выбрано товаров: 13