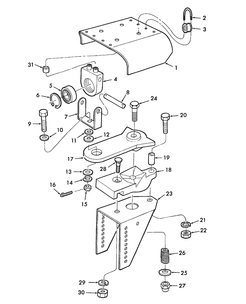
Запчасти Case IH SBX550 (008) - POWER TAKE OFF, POWER PIVOT (31) - IMPLEMENT POWER TAKE OFF

Схема запчастей Case IH SBX550 - (008) - POWER TAKE OFF, POWER PIVOT (31) - IMPLEMENT POWER TAKE OFF
8
14
27
29
24
28
13
21
10
12
3
22
31
11
5
2
7
4
17
19
20
9
16
26
30
23
18
1
15
25
6
FIT
1:1
100%

Артикул

Название

Примечание

Количество

1

86626039

BEARING COVER

Bearing,Tipping

1шт.

814-10040

BOLT,Hex, M10 x 1.5 x 40mm, Cl 8.8

2шт.

140045

BELLEVILLE WASHER,M10 Bolt Size x 22mm OD x 1.6mm Thk

2шт.

2

28114

U-BOLT

#10-24 x 1-15/16", Guide, Twine, W/ 28114 & (2) 87304

1шт.

322357

BELLEVILLE WASHER,M6 Bolt Size x 14mm OD x 1.3mm Thk

2шт.

225-14110

NUT,#10-24

2шт.

3

86543545

GUIDE

Twine

1шт.

4

86629487

BEARING ASSY,34.99mm ID

Includes: Ref. 5 & 6

1шт.

5

9808112

BALL BEARING,34.99mm ID x 71.88mm OD x 25mm W

1шт.

6

86577949

SNAP RING,3.156", Int, #315

1шт.

7

86626042

YOKE

1шт.

8

29851

PIN,15.87mm OD x 128.8mm L

1шт.

495-21019

WASHER,#8

1шт.

394818

COTTER PIN,M5 x 25

1шт.

9

573958

BOLT

HH, Drilled, G5, 3/4"-16 x 2-1/2"

1шт.

10

516161

WASHER

25/32" ID x 2-3/8" OD x 1/4" Thick

1шт.

11

86640860

BUSHING

1шт.

12

187426

SHIM,.015" Thk

1шт.

13

578092

WASHER,19.4mm ID x 47.6mm OD x 3.43mm Thk

3/4", Hardened

1шт.

14

492-11075

LOCK WASHER,3/4"

1шт.

15

425-1312

SLOTTED NUT,3/4"-16, G5

1шт.

16

86013355

COTTER PIN

Plated & Heat Treated, 3/16" x 1-1/2"

1шт.

17

86629431

ARM

Pivot

1шт.

18

86629430

SUPPORT

Ratchet

1шт.

19

579577

SPACER

1шт.

20

413-856

BOLT,Hex, 1/2" - 13 x 3-1/2", Gr 5

1шт.

21

80679

LOCK WASHER,1/20.507 CST ZND

1шт.

22

425-108

NUT,1/2" - 13, Gr 5

1шт.

23

86629408

SUPPORT

1шт.

614-12030

BOLT,Hex, M12 x 1.75 x 30mm, Cl 8.8, Full Thd

4шт.

140046

BELLEVILLE WASHER,M12 Bolt Size x 27mm OD x 1.8mm Thk

4шт.

24

413-12112

BOLT,Hex, 3/4" - 10 x 7", Gr 5

1шт.

25

495-21081

WASHER,3/4"

1шт.

26

115150

SPRING

1шт.

27

232-41412

LOCK NUT,3/4"-10, GC

1шт.

28

280534

CARRIAGE BOLT,#3, 3/8" - 16 x 2", Gr 5

1шт.

29

492-11038

LOCK WASHER,3/8"

1шт.

30

425-106

NUT,3/8"-16, Cl 5

1шт.

31

167444

SPACER

2шт.

Выбрано товаров: 39