Запчасти Case IH SBX550 (038) - HYDRAULIC DOORS KIT (35) - HYDRAULIC SYSTEMS

Схема запчастей Case IH SBX550 - (038) - HYDRAULIC DOORS KIT (35) - HYDRAULIC SYSTEMS
17
24
11
12
9
9
30
6
23
9
33
21
19
31
20
29
28
5
7
15
26
14
10
22
30
32
31
18
29
4
24
2
9
21
8
3
19
23
25
16
13
24
1
22
32
27
FIT
1:1
100%

Артикул

Название

Примечание

Количество

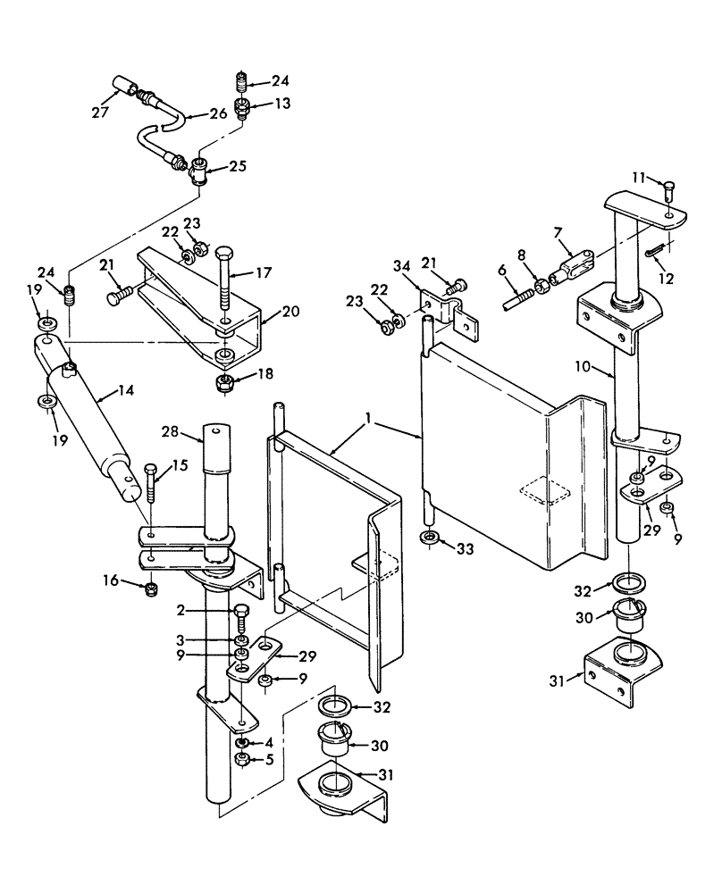
1

86635651

DOOR ASSY.

Hay

2шт.

2

413-520

BOLT,Hex, 5/16" - 18 x 1-1/4", Gr 5

4шт.

3

495-11034

WASHER,5/16", SAE

4шт.

4

492-11031

LOCK WASHER,5/16"

4шт.

5

425-105

NUT,5/16"-18, G5

4шт.

6

86977090

ROD

Tension

1шт.

7

42130

YOKE,3/8" - 24

Adjustable

2шт.

8

425-156

JAM NUT,Jam, 3/8"-24, G5

2шт.

9

235002

SLEEVE

Sleeve

4шт.

10

86977105

SHAFT

1шт.

11

141-54

CLEVIS PIN,3/8" x 1 1/16"

2шт.

12

432-612

COTTER PIN,3/32" x 3/4"

2шт.

13

87694

HYD CONNECTOR

Adapter, 1/4"

1шт.

14

86635738

CYLINDER

Hydraulic, Door Kit, Refer to Fig. 038-1

1шт.

NO Manufacturers' Production Date Stamp

1шт.

14

87556569

HYDRAULIC CYLINDER,25.4mm Rod, 76.2mm Stroke

Hydraulic, Door Kit, Refer to Fig. 038-2

1шт.

Manufacturer's Production Date Stamp - (ex. M 02 2003 = M / week / year )

1шт.

15

413-636

BOLT,Hex, 3/8" - 16 x 2-1/4", Gr 5

1шт.

16

232-4146

NUT,3/8"-16, GC

1шт.

17

413-840

BOLT,Hex, 1/2" - 13 x 2-1/2", Gr 5

1шт.

18

232-4148

NUT,1/2"-13, GC

1шт.

19

64263

WASHER,13.49mm ID x 31.8mm OD x 1.5mm Thk

1шт.

20

86635640

BRACKET

1шт.

21

88682

CARRIAGE BOLT,Short Nk, 3/8"-16 x 1", Gr 5

18шт.

22

140045

BELLEVILLE WASHER,M10 Bolt Size x 22mm OD x 1.6mm Thk

18шт.

23

425-106

NUT,3/8"-16, Cl 5

18шт.

24

87052301

HYD CONNECTOR

Nipple, 1/4" x 7/8"

2шт.

25

86627339

HYD CONNECTOR

-04, Female, NPTF

1шт.

26

511404

FLEXIBLE HOSE

1шт.

27

87052300

COUPLING,1/4" NPT x 1/4" NPT

1/4"

1шт.

28

86635642

SHAFT

1шт.

29

86977092

CONNECTING LINK

2шт.

30

48545

BUSHING

4шт.

31

86977093

SUPPORT

Shaft

2шт.

32

86629477

WASHER

1-1/8"

2шт.

33

244379

WASHER,13.49mm ID x 19.05mm OD x 2.67mm Thk

1шт.

34

86630803

BRACKET

Hinge

4шт.

Выбрано товаров: 37