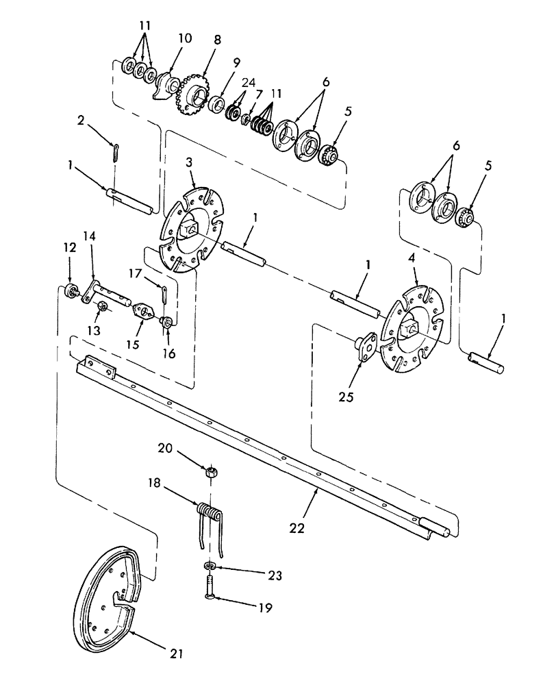
Запчасти Case IH SBX550 (016) - PICKUP SHAFT & FINGER (60) - PRODUCT FEEDING

Схема запчастей Case IH SBX550 - (016) - PICKUP SHAFT & FINGER (60) - PRODUCT FEEDING
9
25
5
1
21
24
14
15
7
3
20
1
1
8
1
16
11
23
19
12
13
6
6
17
10
18
4
5
2
22
11
FIT
1:1
100%

Артикул

Название

Примечание

Количество

1

9801468

CONTROL SHAFT

Reel

1шт.

2

432-1228

COTTER PIN,3/16" x 1 3/4"

1шт.

3

86977216

DISC

Finger

1шт.

126-32

WOODRUFF KEY,#21, 1/4" x 1 1/4"

1шт.

413-640

BOLT,Hex, 3/8" - 16 x 2-1/2", Gr 5

1шт.

232-4146

NUT,3/8"-16, GC

1шт.

4

86977215

DISC

Finger

1шт.

126-32

WOODRUFF KEY,#21, 1/4" x 1 1/4"

1шт.

232-4146

NUT,3/8"-16, GC

1шт.

413-640

BOLT,Hex, 3/8" - 16 x 2-1/2", Gr 5

1шт.

5

455959R92

BEARING ASSY,28.57mm ID x 62mm OD x 18mm W

2шт.

557115R11

COLLAR

2шт.

6

662649R1

RETAINER

Flange, Bearing

4шт.

614-10030

BOLT,Hex, M10 x 1.5 x 30mm, Cl 8.8, Full Thd

6шт.

140045

BELLEVILLE WASHER,M10 Bolt Size x 22mm OD x 1.6mm Thk

6шт.

7

800-1150

SNAP RING,M50, Ext

1шт.

8

86641546

DRIVING SPROCKET

33T, Includes: Ref. 9

1шт.

9

83963214

NYLON BEARING,50.12mm ID x 56mm OD x 27.75mm L

1шт.

10

86641547

HUB

1шт.

126-32

WOODRUFF KEY,#21, 1/4" x 1 1/4"

1шт.

11

29684

WASHER,13.5mm ID x 50.8mm OD x 5.52mm Thk

17/32" ID x 2" OD x 3/16" Thk

1шт.

12

40714

CAM FOLLOWER,31.8 mm OD x 15.9 mm

Cam

6шт.

13

232-4646

LOCK NUT,3/8"-24, GC

6шт.

14

86641591

SHAFT,26.99mm OD x 155mm L

6шт.

413-528

BOLT,Hex, 5/16" - 18 x 1-3/4", Gr 5

12шт.

280736

NUT,5/16"-18, GC

12шт.

15

54695

BEARING HOUSING

12шт.

433-612

CARRIAGE BOLT,Sq Nk, 3/8" - 16 x 3/4", Gr 5

24шт.

140045

BELLEVILLE WASHER,M10 Bolt Size x 22mm OD x 1.6mm Thk

24шт.

425-106

NUT,3/8"-16, Cl 5

24шт.

16

54770

BALL BEARING,27.33 mm ID x 47.092 mm OD x 25.4 mm

12шт.

17

136521

COTTER PIN,5.7mm OD x 44.45mm L

Hardened, 1/4" x 1-3/4"

12шт.

18

86641710

FINGER

Pickup

78шт.

19

413-516

BOLT,Hex, 5/16" - 18 x 1", Gr 5

74шт.

20

832-46410

NUT,M10 x 1.5, Cl 8

1шт.

20

425-105

NUT,5/16"-18, G5

78шт.

21

86640846

CAM

1шт.

22

86516592

ANGLE BAR

6шт.

23

140045

BELLEVILLE WASHER,M10 Bolt Size x 22mm OD x 1.6mm Thk

78шт.

252687

WASHER,0.34" ID x 0.75" OD x 0.09" Thk

78шт.

24

67517

WASHER

1шт.

25

638025

FLANGE

6шт.

88682

CARRIAGE BOLT,Short Nk, 3/8"-16 x 1", Gr 5

12шт.

140045

BELLEVILLE WASHER,M10 Bolt Size x 22mm OD x 1.6mm Thk

12шт.

425-106

NUT,3/8"-16, Cl 5

12шт.

Выбрано товаров: 45