Запчасти Case IH SBX550 (018) - PICKUP WHEEL & WINDGUARD (60) - PRODUCT FEEDING

Схема запчастей Case IH SBX550 - (018) - PICKUP WHEEL & WINDGUARD (60) - PRODUCT FEEDING
2
13
22
18
2
4
20
23
22
1
24
10
11
21
15
6
26
8
27
9
16
25
14
7
5
3
17
12
19
FIT
1:1
100%

Артикул

Название

Примечание

Количество

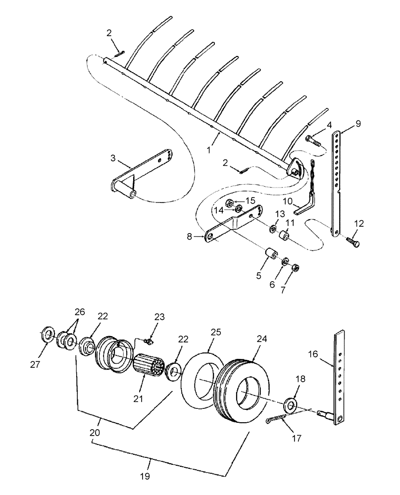
1

86635584

WINDGUARD

1шт.

2

432-1628

COTTER PIN,1/4" x 1 3/4"

2шт.

3

86635485

BRACKET

1шт.

413-820

BOLT,Hex, 1/2" - 13 x 1-1/4", Gr 5

2шт.

86513238

LOCK WASHER,.515” ID x 1.070” OD x .120” TK

Belleville, 1/2"

2шт.

425-108

NUT,1/2" - 13, Gr 5

2шт.

4

434-620

CARRIAGE BOLT,Sht Sq Nk, 3/8" - 16 x 1 1/4", Gr 5

2шт.

5

44612

SPACER

2шт.

6

140045

BELLEVILLE WASHER,M10 Bolt Size x 22mm OD x 1.6mm Thk

2шт.

7

425-106

NUT,3/8"-16, Cl 5

2шт.

8

86635477

SUPPORT

Windguard

1шт.

434-820

CARRIAGE BOLT,Sht Sq Nk, 1/2" - 13 x 1 1/4", Gr 5

1шт.

Refer to Side Sheet, Fig. 017, Ref. 1

1шт.

86513238

LOCK WASHER,.515” ID x 1.070” OD x .120” TK

Belleville, 1/2"

1шт.

425-118

NUT,1/2"-20, G5

1шт.

9

86629625

ARM

1шт.

413-612

BOLT,Hex, 3/8" - 16 x 3/4", Gr 5

2шт.

140045

BELLEVILLE WASHER,M10 Bolt Size x 22mm OD x 1.6mm Thk

2шт.

425-106

NUT,3/8"-16, Cl 5

2шт.

825-1410

NUT,M10, Cl 8

2шт.

10

86640797

PIN

1шт.

413-410

BOLT,Hex, 1/4" - 20 x 5/8", Gr 5

1шт.

322357

BELLEVILLE WASHER,M6 Bolt Size x 14mm OD x 1.3mm Thk

1шт.

425-104

NUT,1/4"-20, Cl 5

1шт.

11

784264

SPACER

1шт.

12

413-820

BOLT,Hex, 1/2" - 13 x 1-1/4", Gr 5

1шт.

13

495-21044

WASHER,3/8"

1шт.

14

86513238

LOCK WASHER,.515” ID x 1.070” OD x .120” TK

Belleville, 1/2"

1шт.

15

425-108

NUT,1/2" - 13, Gr 5

1шт.

16

86630890

BRACKET

For Flotation Tire & Wheel

1шт.

17

432-1228

COTTER PIN,3/16" x 1 3/4"

For Flotation Tire

1шт.

18

495-11106

WASHER,1", SAE

2шт.

19

86622676

TYRE/TIRE

Pickup

1шт.

20

86622675

RIM

Pickup, One-Piece Welded Wheel, Includes: Ref. 31, 32, &33

1шт.

21

86509133

ROLLER BEARING,25.48mm ID x 35.05mm OD x 57.15mm W

for Flotation Tire & Wheel

1шт.

22

86516159

RETAINER

for Flotation Tire & Wheel

2шт.

23

219-417

LUBE NIPPLE,1/4" - 28 NPTF

for Flotation Tire & Wheel

1шт.

24

279537

TYRE/TIRE

4-Ply, Rib-Flotation, 15 x 6 x 6

1шт.

25

279538

TUBE

Inner, 15 x 6 x 6, for Flotation Tire

1шт.

26

27318

WASHER,26mm ID x 51mm OD x 1.5mm Thk

.060" Thick

1шт.

27317

WASHER,26mm ID x 51mm OD x 1.17mm Thk

(0.9mm Thk)

1шт.

27

86529391

WASHER

Notched

1шт.

27317

WASHER,26mm ID x 51mm OD x 1.17mm Thk

(0.9mm Thk)

1шт.

Выбрано товаров: 43